授权公布号:CN213857582U
一种便于组装维护的超声波金属焊接机
有效
申请
2020-07-20
申请公布
1970-01-01
授权
2021-08-03
预估到期
2030-07-20
| 申请号 | CN202021431657.0 |
| 申请日 | 2020-07-20 |
| 授权公布号 | CN213857582U |
| 授权公告日 | 2021-08-03 |
| 分类号 | B23K20/10;B23K20/26 |
| 分类 | 机床;不包含在其他类目中的金属加工; |
| 申请人名称 | 广州市和瑞超声科技有限公司 |
| 申请人地址 | 广东省广州市黄埔区观达路20号自编四栋702房 |
专利法律状态
2021-08-03
授权
状态信息
授权
摘要
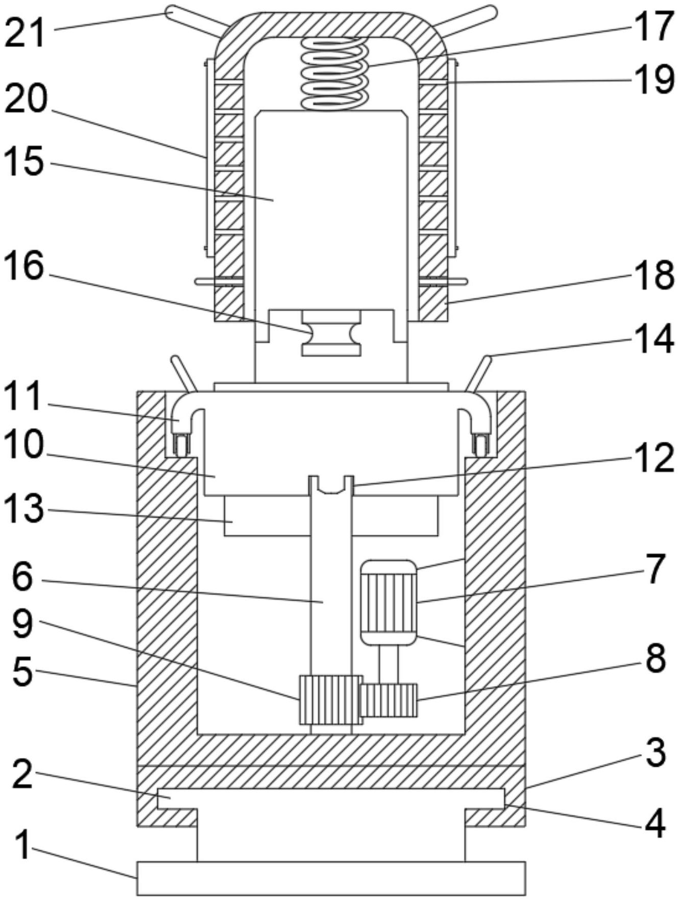
本实用新型公开了一种便于组装维护的超声波金属焊接机,涉及金属焊接机加工技术领域,包括底座,底座的上表面中部固定安装有支撑块,支撑块的上表面滑动安装有滑块,滑块的内壁对称开设有滑槽,滑块的上表面固定安装有焊接载台,焊接载台的内部上表面活动安装有旋转轴,焊接载台的一侧内壁活动安装有电机。该便于组装维护的超声波金属焊接机,通过在旋转轴的顶部设置电磁块,焊接盘在需要进行拆卸维护时,通过支撑块、滑块、滑槽和焊接载台的配合,使焊接载台向外移动,通过关闭电磁块将焊接盘取出进行维护,方便快捷,能够有效的减轻维修工人的劳动强度,通过设置的滑块和滑槽,能够进一步的提升焊接头的焊接灵活性。


