授权公布号:CN210257298U
一种塑料热板焊接气动夹持工装
有效
申请
2019-05-29
申请公布
1970-01-01
授权
2020-04-07
预估到期
2029-05-29
| 申请号 | CN201920792453.0 |
| 申请日 | 2019-05-29 |
| 授权公布号 | CN210257298U |
| 授权公告日 | 2020-04-07 |
| 分类号 | B29C65/02 |
| 分类 | 塑料的加工;一般处于塑性状态物质的加工; |
| 申请人名称 | 厦门长昕电子科技有限公司 |
| 申请人地址 | 福建省厦门市同安区工业集中区同盛路69号三楼之八 |
专利法律状态
2020-04-07
授权
状态信息
授权
摘要
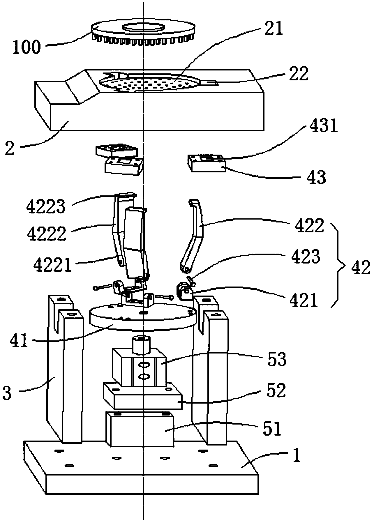
本实用新型公开了一种塑料热板焊接气动夹持工装,其包括底座、工作台、立柱、驱动装置及夹紧机构,工作台上设有产品放置区,围绕产品放置区设有多个第一通孔,立柱设于底座和工作台之间,驱动装置设于底座上,夹紧机构包括推动件和多个夹爪组件,推动件与驱动装置相连接,多个夹爪组件安装于推动件上,通过驱动装置驱动推动件上升或下降,以带动夹爪组件伸出第一通孔后张开或收合。本实用新型通过驱动装置带动夹爪组件收合或张开,以实现夹持或松开工作台上待焊接的产品,设备的整体结构紧凑,安装调试方便,易于维护。


