授权公布号:CN212549255U
调制乳粉生产的预处理设备
有效
申请
2020-04-28
申请公布
1970-01-01
授权
2021-02-19
预估到期
2030-04-28
| 申请号 | CN202020667665.9 |
| 申请日 | 2020-04-28 |
| 授权公布号 | CN212549255U |
| 授权公告日 | 2021-02-19 |
| 分类号 | B01F7/24; |
| 分类 | 一般的物理或化学的方法或装置; |
| 申请人名称 | 多加多乳业(天津)有限公司 |
| 申请人地址 | 天津市津南区经济开发区 |
专利法律状态
2021-02-19
授权
状态信息
授权
摘要
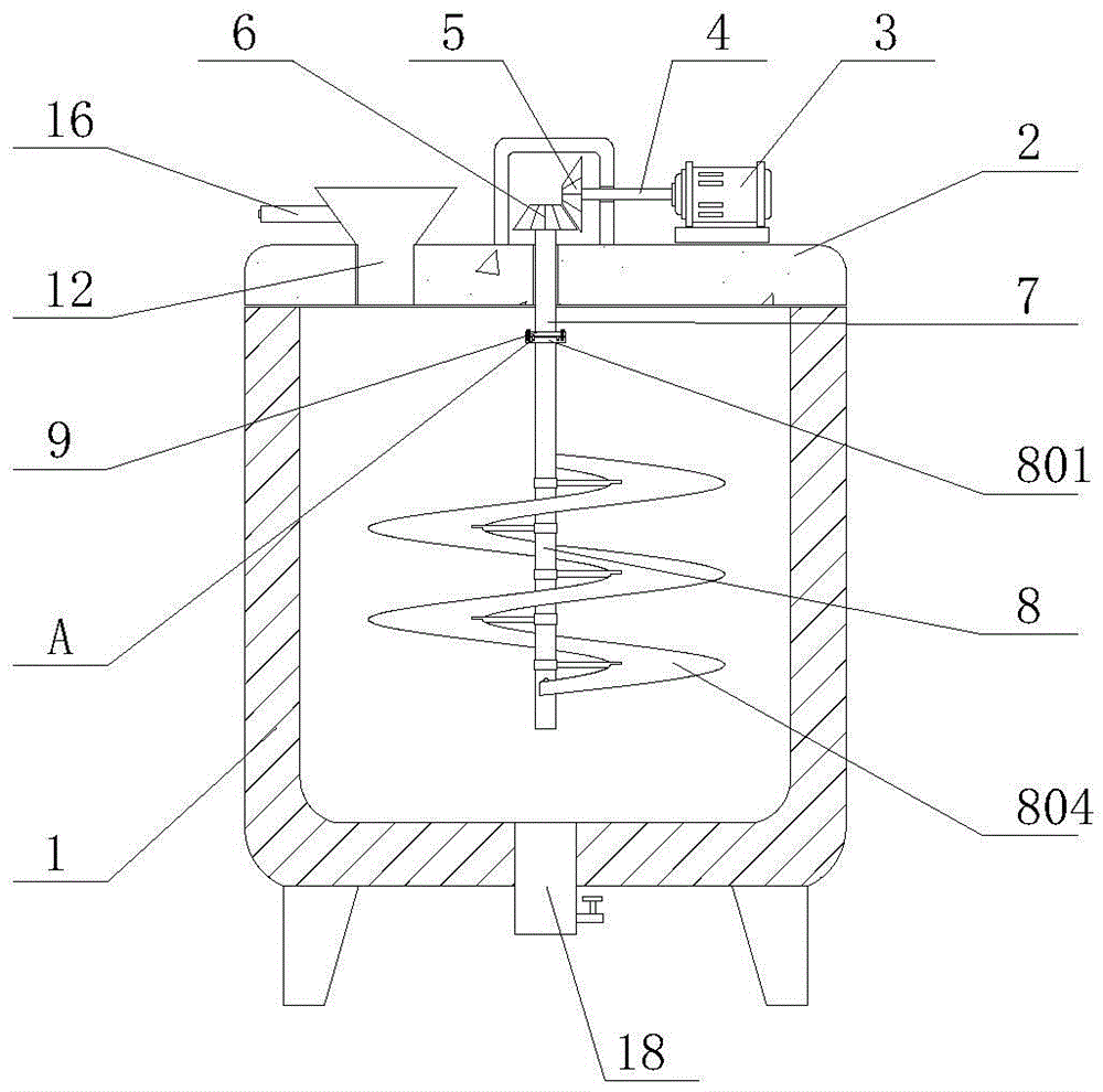
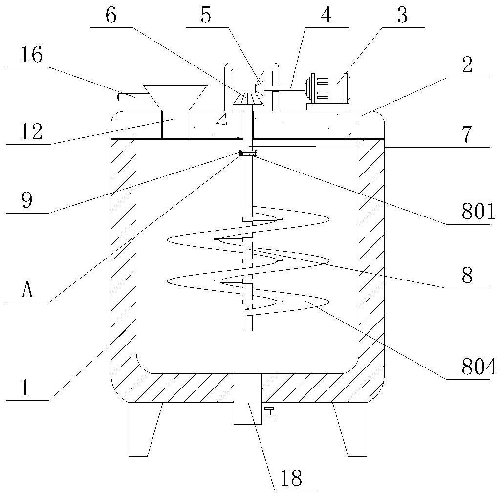
本实用新型涉及调制乳粉加工技术领域,且公开了调制乳粉生产的预处理设备,包括筒体,所述筒体的一侧设置有顶盖,所述顶盖的一侧设置有电机,所述电机的一侧连接有传动轴,所述传动轴的一侧连接有主动齿轮,所述主动齿轮的一侧设置有从动齿轮,所述从动齿轮远离主动齿轮的一侧连接有转动轴。该调制乳粉生产的预处理设备,通过设置挡板和丝杆,转动丝杆,丝杆通过与挡板构成的螺纹结构带动挡板移动,丝杆设置在固定板的内部,便于使丝杆带动挡板移动到固定板的内部,通过调节挡板在进料斗内的覆盖面积来调节物料的进料速度,挡板的长度小于固定板的长度,便于使挡板能够完全的移动到挡板槽的内部,从而使得物料的进料速度达到最大化。


