授权公布号:CN214164076U
一种超声波塑焊机
有效
申请
2020-11-30
申请公布
1970-01-01
授权
2021-09-10
预估到期
2030-11-30
| 申请号 | CN202022815765.4 |
| 申请日 | 2020-11-30 |
| 授权公布号 | CN214164076U |
| 授权公告日 | 2021-09-10 |
| 分类号 | B29C65/08;B29C65/78 |
| 分类 | 塑料的加工;一般处于塑性状态物质的加工; |
| 申请人名称 | 东莞市华拓超声波设备有限公司 |
| 申请人地址 | 广东省东莞市东坑镇长安塘村华步塘14号B区 |
专利法律状态
2021-09-10
授权
状态信息
授权
摘要
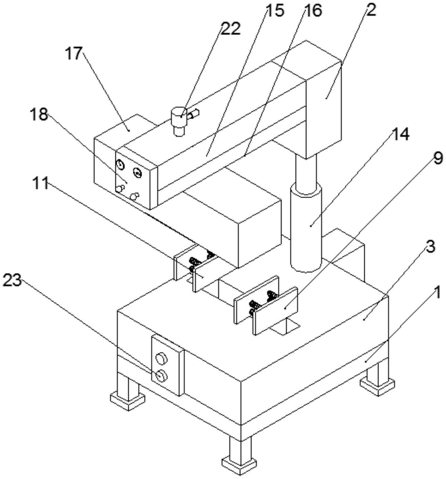
本实用新型公开了一种超声波塑焊机,包括底板和装置本体,底板的上表壁固定连接有底座,底座的左侧壁固定连接有电机,电机的输出轴穿入底座的内腔并固定连接有双向螺纹杆,双向螺纹杆的两端均通过轴承与底座的内部左右两侧壁转动连接,双向螺纹杆的两端外壁均螺纹连接有螺纹套,两个螺纹套的上表壁固定连接有固定杆,两个固定杆远离螺纹套的一端均固定连接有支撑板,两个支撑板的相对一侧均固定连接有对称分布的限位伸缩杆,相同一侧两个限位限位伸缩杆远离支撑板的一端均共同固定连接有夹板,多个限位伸缩杆的外壁均套设有缓冲弹簧,该种超声波塑焊机,在对待焊接件的固定和焊嘴高度调节方面,具有较好的效果。


