授权公布号:CN213193430U
一种专用于质感漆生产的多层差速分散装置
有效
申请
2020-05-28
申请公布
1970-01-01
授权
2021-05-14
预估到期
2030-05-28
| 申请号 | CN202020937304.1 |
| 申请日 | 2020-05-28 |
| 授权公布号 | CN213193430U |
| 授权公告日 | 2021-05-14 |
| 分类号 | B01F7/26;B01F15/00 |
| 分类 | 一般的物理或化学的方法或装置; |
| 申请人名称 | 广东福莱特建筑材料有限公司 |
| 申请人地址 | 广东省中山市东凤镇同安大道西49号之二 |
专利法律状态
2021-05-14
授权
状态信息
授权
摘要
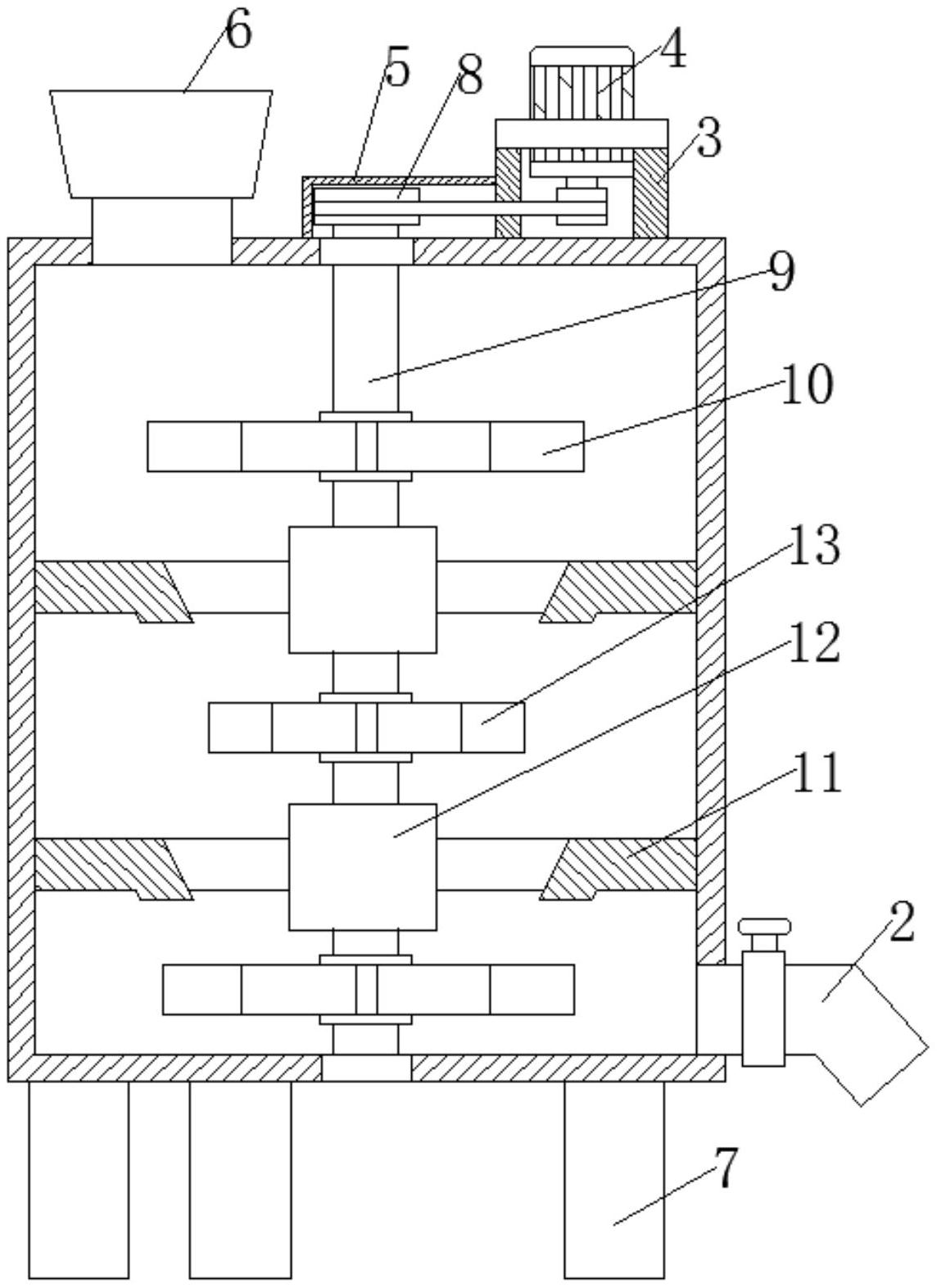
本实用新型涉及质感漆生产技术领域,且公开了一种专用于质感漆生产的多层差速分散装置,包括壳体大叶轮,所述壳体下端固定连接有多个支撑脚,壳体上端左部设置有进料口,进料口下端通过连接管与壳体连通,壳体内顶端中部转动连接搅拌杆,搅拌杆上端穿过壳体,且搅拌杆上端固定连接有带轮,带轮外侧上部设置有防护罩,防护罩右端与固定座固定连接;该种专用于质感漆生产的多层差速分散装置,搅拌电机通过皮带带动带轮和搅拌杆一起转动,搅拌杆带动叶轮转动,对壳体内部的材料进行分散处理,有利于材料的分散处理,便于材料的加工使用;叶轮上大、小叶片共同作用,使材料同时向四周不同位置分撒,有利于材料的分散处理。


