授权公布号:CN213160470U
一种专用于涂料加工的可拆卸分散盘组件
有效
申请
2020-06-03
申请公布
1970-01-01
授权
2021-05-11
预估到期
2030-06-03
| 申请号 | CN202020995790.2 |
| 申请日 | 2020-06-03 |
| 授权公布号 | CN213160470U |
| 授权公告日 | 2021-05-11 |
| 分类号 | B01F7/26 |
| 分类 | 一般的物理或化学的方法或装置; |
| 申请人名称 | 广东福莱特建筑材料有限公司 |
| 申请人地址 | 广东省中山市东凤镇同安大道西49号之二 |
专利法律状态
2021-05-11
授权
状态信息
授权
摘要
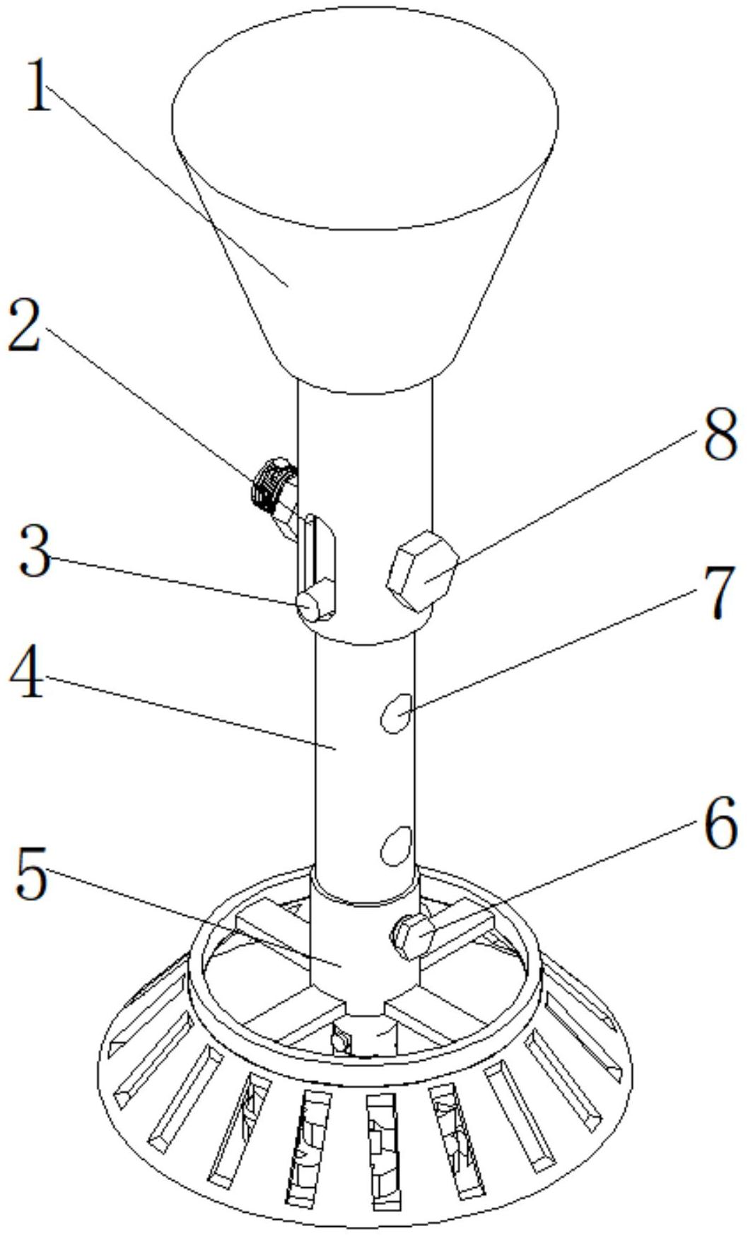
本实用新型涉及搅拌设备技术领域,且公开了一种专用于涂料加工的可拆卸分散盘组件,包括连接柱,所述连接柱的下方开有卡槽,所述连接柱的内侧滑动连接有搅拌杆,所述搅拌杆的上侧固定安装有卡条,所述卡条镶嵌安装在卡槽的内侧,所述连接柱和搅拌杆通过固定螺栓一固定连接,所述固定螺栓一的后侧通过紧固螺母固定连接,所述固定螺栓一的后侧活动安装有定位销。该种专用于涂料加工的可拆卸分散盘组件,将定位销向外拿出,然后拧动紧固螺母,然后向外拔出固定螺栓一,从而方便搅拌杆拆卸,然后,拧动固定螺栓二,从而使固定螺栓二脱离搅拌杆,然后向外拿出连接杆,从而使凹槽和凸块相互分离,从而方便对分散盘二和分散盘一的拆卸和更换。


