授权公布号:CN212930875U
一种专用于真石漆加工的热循环式电热烘烤装置
有效
申请
2020-05-28
申请公布
1970-01-01
授权
2021-04-09
预估到期
2030-05-28
| 申请号 | CN202020937336.1 |
| 申请日 | 2020-05-28 |
| 授权公布号 | CN212930875U |
| 授权公告日 | 2021-04-09 |
| 分类号 | F26B17/04;F26B25/00;F26B25/04;F26B21/00 |
| 分类 | 干燥; |
| 申请人名称 | 广东福莱特建筑材料有限公司 |
| 申请人地址 | 广东省中山市东凤镇同安大道西49号之二 |
专利法律状态
2021-04-09
授权
状态信息
授权
摘要
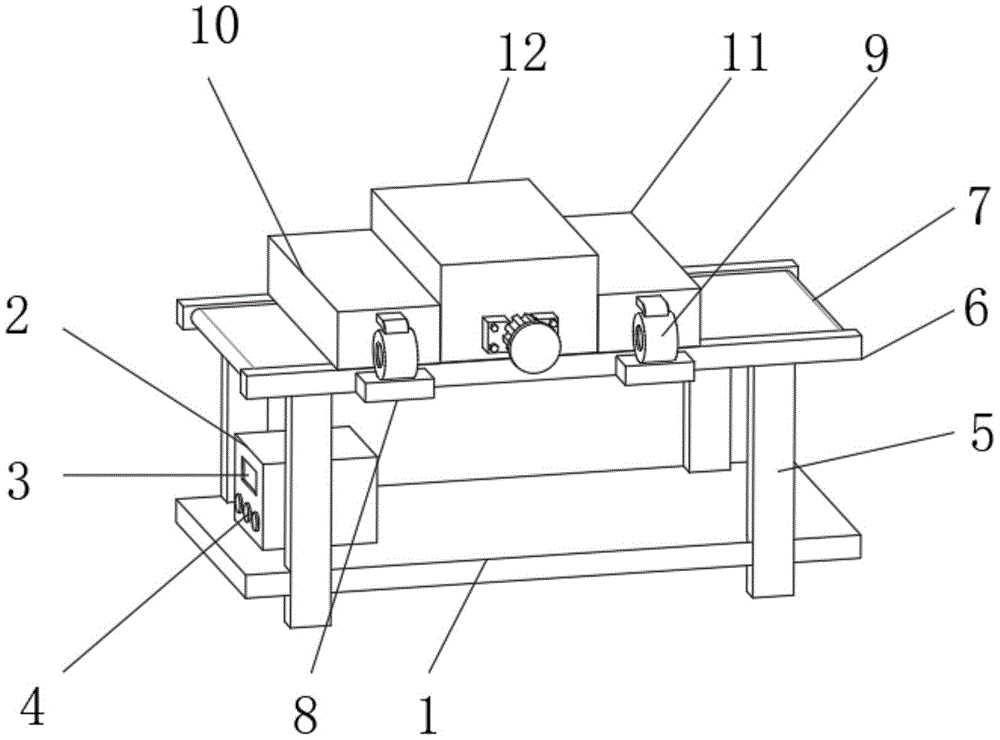
本实用新型涉及真石漆加工技术领域,且公开了一种专用于真石漆加工的热循环式电热烘烤装置,包括装置底板,所述平行支架的侧面设有传送带,所述平行支架的顶部固定安装有第一烘烤箱,所述平行支架的顶部固定安装有翻面箱,所述平行支架的顶部固定安装有第二烘烤箱。一种专用于真石漆加工的热循环式电热烘烤装置,通过鼓风机向第二烘烤箱的内部吹入风,再经过加热丝的加热,形成烘烤的热风,对原料进行烘烤,第一烘烤箱的工作原理也是如此,通过两个烘烤箱的设计,使得烘干效果更好,利用电机带动翻面叶旋转,对原料进行翻面,使得翻面过后的原料进入第二烘烤箱中再次烘烤,实现了在自动翻面。


