授权公布号:CN220446771U
一种隔墙板生产用注浆设备
有效
申请
2023-06-26
申请公布
1970-01-01
授权
2024-02-06
预估到期
2033-06-26
| 申请号 | CN202321618051.1 |
| 申请日 | 2023-06-26 |
| 授权公布号 | CN220446771U |
| 授权公告日 | 2024-02-06 |
| 分类号 | B28B13/02;B28C5/16;B08B9/087 |
| 分类 | 加工水泥、黏土或石料; |
| 申请人名称 | 湖北博悦佳实业有限公司 |
| 申请人地址 | 湖北省鄂州市庙岭镇脉岭村十组 |
专利法律状态
2024-02-06
授权
状态信息
授权
摘要
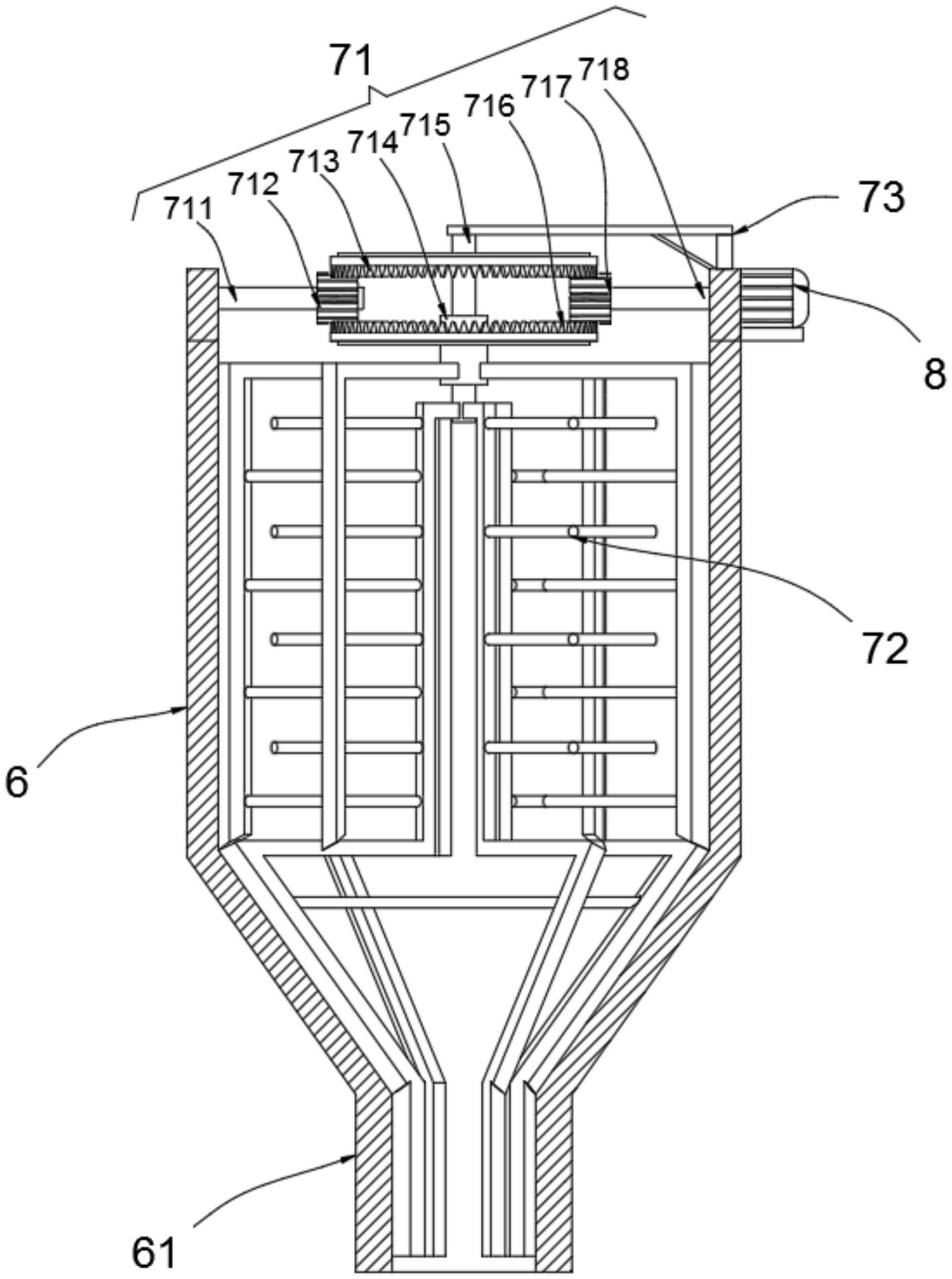
本实用新型涉及注浆设备技术领域,提出了一种隔墙板生产用注浆设备,包括:制备桶,在制备桶上设置有搅拌清洁机构,搅拌清洁机构包括传动部件、混合刮壁部件以及安装架,在启动电机时,电机能够通过传动部件带动混合刮壁部件进行运动,且混合刮壁部件包括第一混合刮壁架和第二混合刮壁架,在传动部件的带动下,第一混合刮壁架和第二混合刮壁架能够以相反的方向进行转动,从而能够大大提高对制备桶内部混凝土物料的混合效率,并且,第一混合刮壁架和第二混合刮壁架在对混凝土物料进行搅拌的同时,能够对制备桶的内壁进行刮擦清洁,避免混凝土物料在制备桶内壁固接,而导致制备桶内壁难以清洁,具有很好的实用性能。


