授权公布号:CN213979563U
一种具有安装结构的轻质节能墙板
有效
申请
2020-10-27
申请公布
1970-01-01
授权
2021-08-17
预估到期
2030-10-27
| 申请号 | CN202022419984.0 |
| 申请日 | 2020-10-27 |
| 授权公布号 | CN213979563U |
| 授权公告日 | 2021-08-17 |
| 分类号 | E04C2/34;E04C2/284;E04C2/30;E04C2/288;E04B1/61;E04B1/343 |
| 分类 | 建筑物; |
| 申请人名称 | 湖北博悦佳实业有限公司 |
| 申请人地址 | 湖北省鄂州市庙岭镇脉岭村十组 |
专利法律状态
2021-08-17
授权
状态信息
授权
摘要
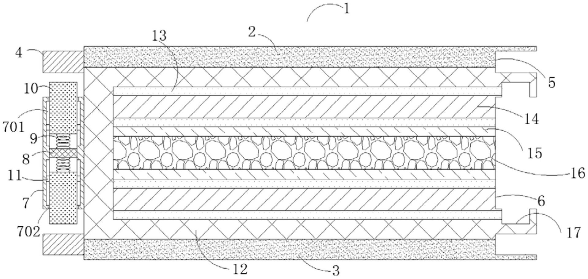
本实用新型公开了一种具有安装结构的轻质节能墙板,包括轻质节能墙板本体,所述轻质节能墙板本体包括第一连接板和第二连接板,所述第一连接板和第二连接板之间固定安装有填充芯板,所述填充芯板内顶部下表面和底部上表面均固定连接有黏胶层,两组所述黏胶层一侧均固定连接有中肋板,两组所述中肋板一侧均固定安装有钢板,两组所述钢板之间均固定连接有轻质保温板,所述第一连接板和第二连接板一侧固定安装有两组插柱,通过设置两组插柱、两组插槽、固定板、固定槽、支撑板、弹簧、两组卡槽和两组插块配合使用,便于安装连接使用,结构丰富,操作简单,拆卸后可重复利用,降低使用成本,适合广泛推广。


