授权公布号:CN218086873U
一种外墙微晶石涂料的包装桶
有效
申请
2022-09-05
申请公布
1970-01-01
授权
2022-12-20
预估到期
2032-09-05
| 申请号 | CN202222344728.9 |
| 申请日 | 2022-09-05 |
| 授权公布号 | CN218086873U |
| 授权公告日 | 2022-12-20 |
| 分类号 | B65D51/24;B65D53/02;B65D55/00;B65D8/00 |
| 分类 | 输送;包装;贮存;搬运薄的或细丝状材料; |
| 申请人名称 | 宝润达新型材料股份有限公司 |
| 申请人地址 | 河南省许昌市长葛市魏武路南段西侧 |
专利法律状态
2022-12-20
授权
状态信息
授权
摘要
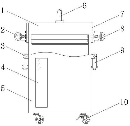
本实用新型公开了一种外墙微晶石涂料的包装桶,包括桶体,所述桶体的顶部设置有盖体,所述盖体的两侧均固定连接有固定板,所述固定板的一侧固定连接有固定壳,所述固定壳的一侧贯穿有插杆,所述插杆的一侧依次贯穿固定板和桶体且延伸至桶体的内部,所述固定壳内壁的一侧固定连接有弹簧,所述弹簧的一侧固定连接有挤压块。本实用新型提供的一种外墙微晶石涂料的包装桶具有插杆,插杆可以使盖体与桶体之间插接固定,拉动两侧的手柄即可将插杆抽出使用桶内的涂料,盖体与桶体连接处设置有密封圈,配合插杆固定可防止涂料在运输或移动过程中洒出,相较于传统的微晶石涂料包装桶本实用新型盖体的固定结构更加稳定,密封性更好。


