授权公布号:CN217833032U
一种法兰表面抛光装置
有效
申请
2022-06-25
申请公布
1970-01-01
授权
2022-11-18
预估到期
2032-06-25
| 申请号 | CN202221599251.2 |
| 申请日 | 2022-06-25 |
| 授权公布号 | CN217833032U |
| 授权公告日 | 2022-11-18 |
| 分类号 | B24B9/04;B24B29/02;B24B41/06;B24B47/12;B24B47/00;B24B47/22 |
| 分类 | 磨削;抛光; |
| 申请人名称 | 无锡市法兰锻造有限公司 |
| 申请人地址 | 江苏省无锡市滨湖区胡埭镇振胡路288号 |
专利法律状态
2022-11-18
授权
状态信息
授权
摘要
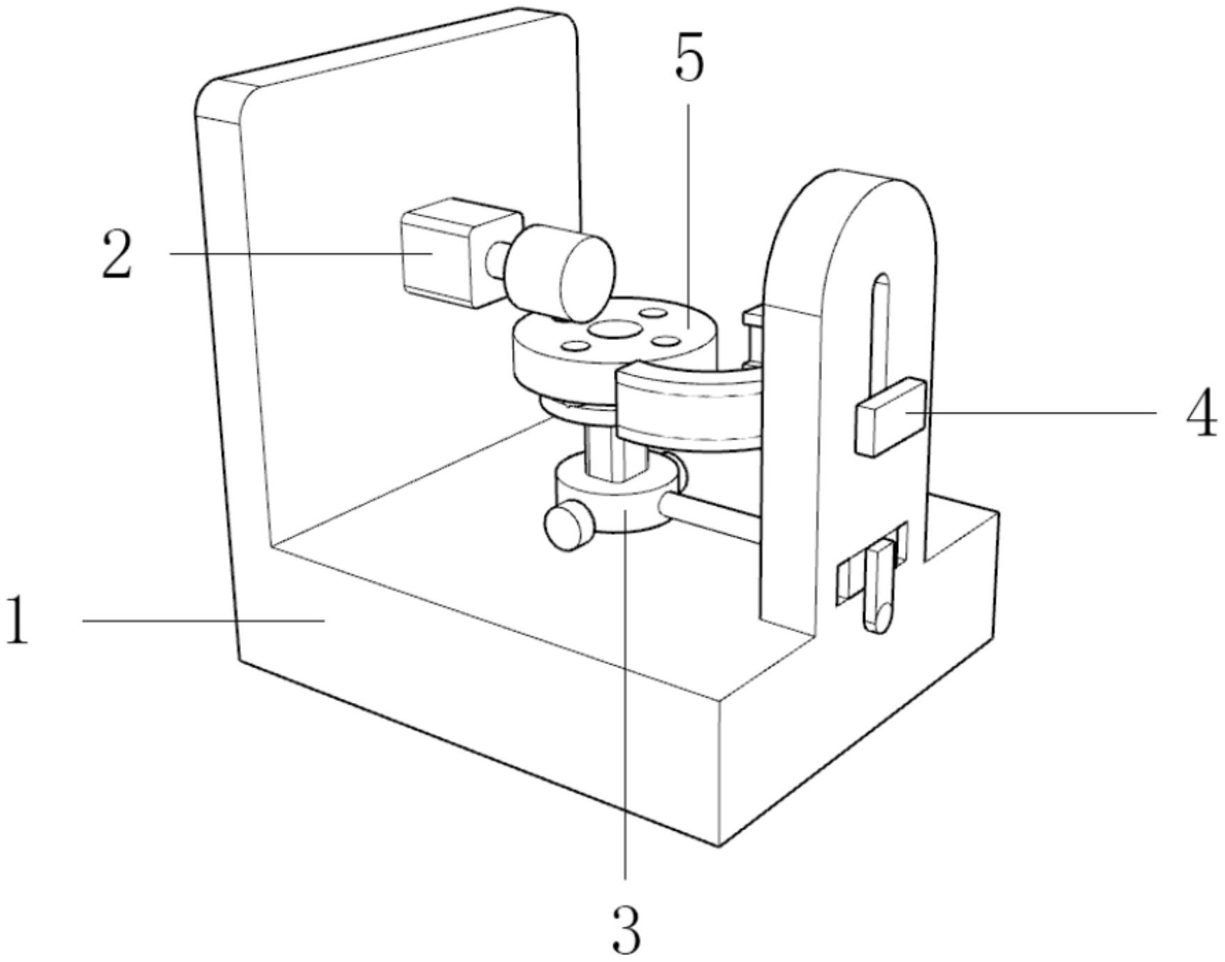
本实用新型公开了一种法兰表面抛光装置,包括工作台,工作台尾部的中部内侧可拆卸安装有抛光组件,工作台首部的内表面活动安装有旋转组件,工作台首部的顶部内表面活动安装有夹持组件,旋转组件顶部的外表面可拆卸安装有法兰盘。上述方案中,抛光完法兰盘的一面后,关闭第二驱动装置使法兰盘保持在对称的位置停止,接着转动锁死卡扣解锁旋转组件,抽拉拉板使法兰盘卡入橡胶夹持套的内表面,提拉翻转板,然后翻转放下,使法兰盘翻面并卡在法兰柱上,推动拉板至活动槽内,转动锁死卡扣,锁死旋转组件并启动第二驱动装置,如此即可完成对法兰盘的翻面抛光,利用上述结构,可便捷对法兰盘进行翻面,且避免工作人员受到烫伤。


