授权公布号:CN116099965B
一种新能源风力发电T型法兰的自动碾成装置
有效
申请
2023-03-28
申请公布
2023-05-12
授权
2023-06-23
预估到期
2043-03-28
| 申请号 | CN202310309058.3 |
| 申请日 | 2023-03-28 |
| 申请公布号 | CN116099965A |
| 申请公布日 | 2023-05-12 |
| 授权公布号 | CN116099965B |
| 授权公告日 | 2023-06-23 |
| 分类号 | B21H1/06 |
| 分类 | 基本上无切削的金属机械加工;金属冲压; |
| 申请人名称 | 山西天宝集团有限公司 |
| 申请人地址 | 山西省忻州市定襄县北关工业区 |
专利法律状态
2023-06-23
授权
状态信息
授权
2023-05-30
实质审查的生效
状态信息
实质审查的生效;IPC(主分类):B21H1/06;申请日:20230328
2023-05-12
公布
状态信息
公布
摘要
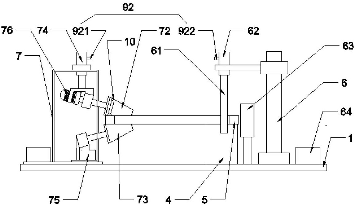
本发明涉及一种大型无缝环锻件热轧件加工领域。公开了一种新能源风力发电T型法兰的自动碾成装置,主要包括径向碾压装置、轴向碾压装置、抱辊装置,测量装置,针对风力发电T型法兰表面有环形凸起的特殊要求,通过改变锥辊形状尺寸、增加抱辊等方式能自动对高温的环形煅坯进行径向、轴向碾压,在提高碾成过程的稳定同时形成和最终成品尺寸非常接近的坯件,在后续坯件加工时只要进行少许的加工余量就可以加工成成品,降低了原材料加工过程中的损失量,缩短了加工周期,降低了能源和材料消耗,同时也在碾环过程中,改善了煅坯碾环的稳定性,提高了加工精度和毛坯的成品率,改善了经济效益。


