授权公布号:CN107781548B
一种与管道内径齐平的高压自紧法兰
有效
申请
2017-11-29
申请公布
2018-03-09
授权
2023-10-31
预估到期
2037-11-29
| 申请号 | CN201711224543.1 |
| 申请日 | 2017-11-29 |
| 申请公布号 | CN107781548A |
| 申请公布日 | 2018-03-09 |
| 授权公布号 | CN107781548B |
| 授权公告日 | 2023-10-31 |
| 分类号 | F16L23/08;F16L23/18 |
| 分类 | 工程元件或部件;为产生和保持机器或设备的有效运行的一般措施;一般绝热; |
| 申请人名称 | 无锡市华尔泰机械制造有限公司 |
| 申请人地址 | 江苏省无锡市胡埭工业园张舍路6号 |
专利法律状态
2023-10-31
授权
状态信息
授权
2018-04-03
实质审查的生效
状态信息
实质审查的生效;IPC(主分类):F16L23/08;申请日:20171129
2018-03-09
公布
状态信息
公布
摘要
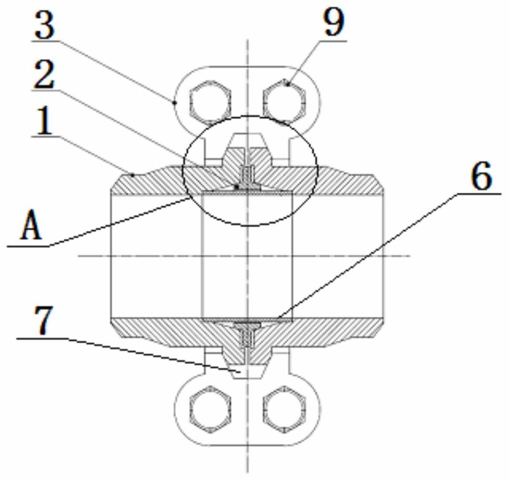
本发明公开了一种与管道内径齐平的高压自紧法兰,包括两个套节、密封环、卡套及螺栓和螺母,两个套节对称设置,密封环设置于两个套节之间,卡套设置于套节外结合螺栓和螺母将两个套节卡紧连接,密封环上设有凸筋形成T形结构,套节的一端制有环形的连接盘,连接盘上还设有锥面,密封环设置于两个套节的连接盘之间,连接盘临近密封环的一面制有与密封环相匹配的凹槽,靠近连接盘一侧的套节内壁上向内凹进形成一个台阶,套节的台阶内设置有袖管,袖管设置于密封环内;两个卡套对称设置形成环形,卡套的中部设有卡槽,本发明的法兰结构紧凑,安装拆卸方便,体积小,重量轻,密封性好,工作效率高。


