授权公布号:CN217746672U
一种避免漏浆的米浆气动搅拌设备
有效
申请
2022-06-16
申请公布
1970-01-01
授权
2022-11-08
预估到期
2032-06-16
| 申请号 | CN202221514769.1 |
| 申请日 | 2022-06-16 |
| 授权公布号 | CN217746672U |
| 授权公告日 | 2022-11-08 |
| 分类号 | B01F27/90;B01F27/11;B01F35/32;B01F101/06N |
| 分类 | 一般的物理或化学的方法或装置; |
| 申请人名称 | 广东霸王花食品有限公司 |
| 申请人地址 | 广东省河源市东源县蝴蝶岭工业城蝴蝶大道北3号 |
专利法律状态
2022-11-08
授权
状态信息
授权
摘要
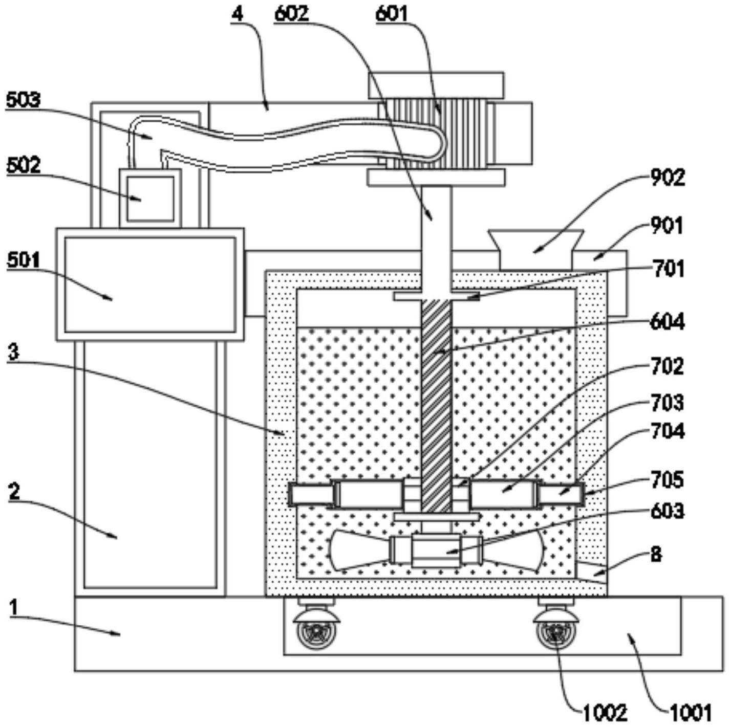
本实用新型公开了一种避免漏浆的米浆气动搅拌设备,包括底板、支撑柱和搅拌箱,所述底板上方的左侧安装有支撑柱,所述支撑柱上方的右侧固定有固定板,所述支撑柱的右侧安装有搅拌箱,所述搅拌箱安装在底板的上方,所述支撑柱的外壁设有气动装置,所述搅拌箱的内部设有搅拌装置,所述搅拌装置包括固定块、螺纹帽和启动装置,所述固定板的内部设有启动装置,所述启动装置的外壁设有多个固定块,所述固定块之间设有螺纹帽,所述启动装置贯穿螺纹帽的内部;本实用新型防止米浆原料堆积在搅拌箱的底部,并将搅拌箱底部堆积的原料搅起,能够搅散米浆原料结成的块,使水与米浆原料的混合更加的充分,提高产品的质量。


