授权公布号:CN216366907U
一种方便独立更换的多层过滤装置
有效
申请
2021-11-30
申请公布
1970-01-01
授权
2022-04-26
预估到期
2031-11-30
| 申请号 | CN202122998073.2 |
| 申请日 | 2021-11-30 |
| 授权公布号 | CN216366907U |
| 授权公告日 | 2022-04-26 |
| 分类号 | B01D29/58;B01D29/96;B01D35/30 |
| 分类 | 一般的物理或化学的方法或装置; |
| 申请人名称 | 无锡市华尔泰机械制造有限公司 |
| 申请人地址 | 江苏省无锡市滨湖区胡埭镇张舍路16 |
专利法律状态
2022-04-26
授权
状态信息
授权
摘要
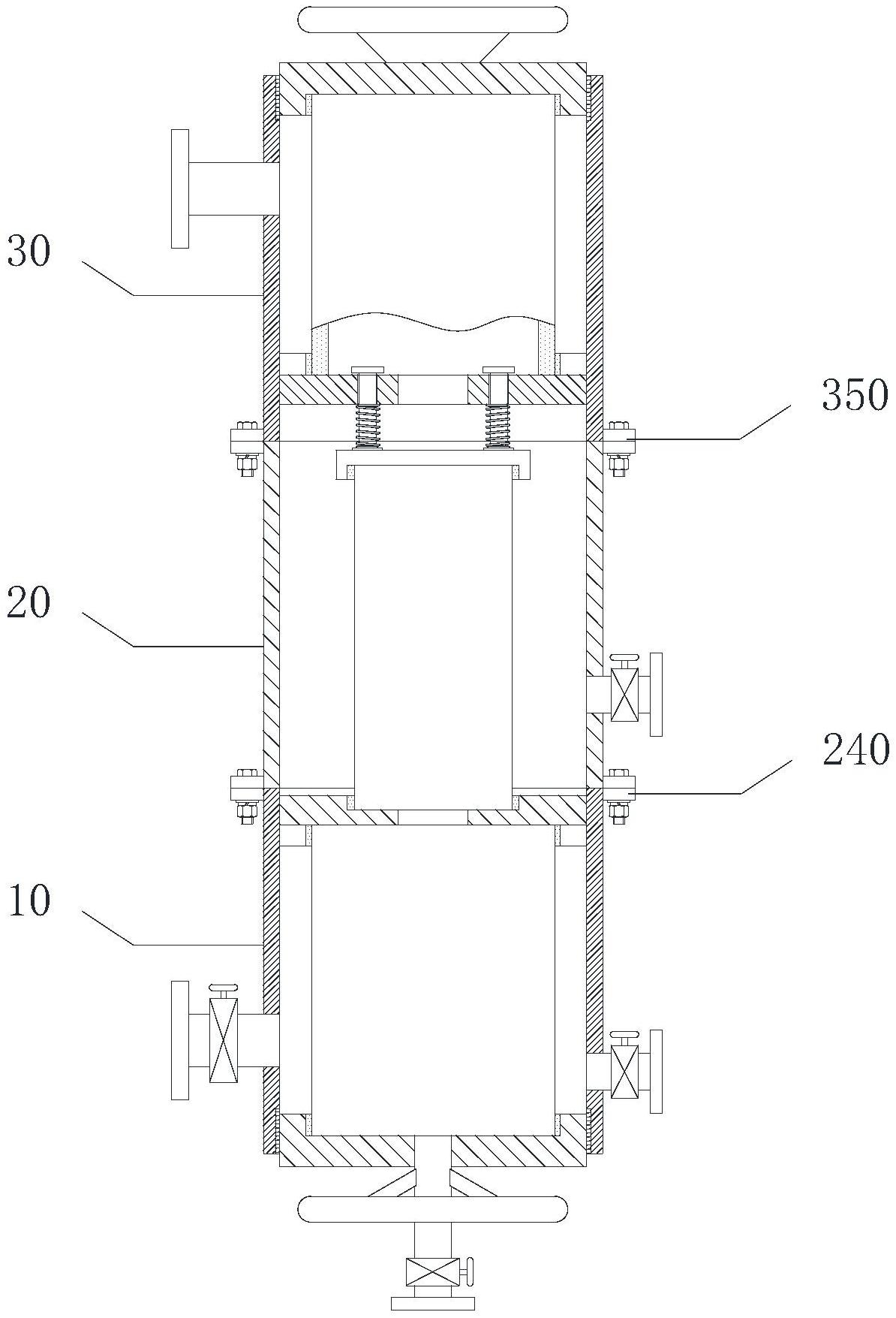
本申请提供了一种方便独立更换的多层过滤装置,属于污水处理技术领域。该方便独立更换的多层过滤装置包括下段过滤组件和中段筒体以及上段筒体,下段过滤组件包括下段筒体、粗过滤筒,粗过滤筒位于下段筒体内部,中段过滤组件包括中段筒体、细过滤筒和,细过滤筒位于中段筒体内,上段过滤组件包括上段筒体、滤棉筒,顶盖与上段筒体上端可拆卸连接,过滤棉筒位于上段筒体内,且上段筒体被抵紧于第二隔板和顶盖的相对侧,上段筒体与中段筒体通过第二紧固件实现可拆卸连接。在本申请中,下段过滤组件可将污水中大颗粒杂质过滤出去,中段过滤组件将污水中小颗粒杂物过滤出去,上段过滤组件将过滤污水中细小杂物,使污水中的杂质全部过滤出去。


