授权公布号:CN212844220U
一种电机防水性能检测装置
有效
申请
2020-08-28
申请公布
1970-01-01
授权
2021-03-30
预估到期
2030-08-28
| 申请号 | CN202021841412.5 |
| 申请日 | 2020-08-28 |
| 授权公布号 | CN212844220U |
| 授权公告日 | 2021-03-30 |
| 分类号 | G01M3/20 |
| 分类 | 测量;测试; |
| 申请人名称 | 大连斯频德环境设备有限公司 |
| 申请人地址 | 辽宁省大连市经济技术开发区东北四街8号 |
专利法律状态
2021-03-30
授权
状态信息
授权
摘要
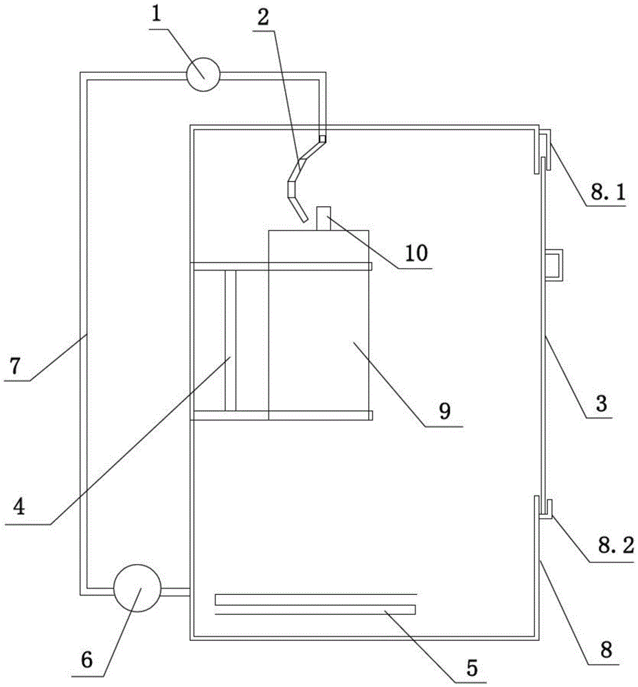
本实用新型公开了一种电机防水性能检测装置,属于检测装置技术领域。包括底部盛装循环水的密封箱体,所述密封箱体底部设有加热器,密封箱体外接循环水管路,所述循环水管路上设有循环水泵和流量计,循环水管路出水口连接位于密封箱体内的万向喷嘴,所述万向喷嘴位于支撑架上方,所述密封箱体上设有可开启的密封门。本实用新型的有益效果是:对电机的防水性能进行检查,避免电机防水性能不合格导致在潮湿环境下使用引起电机故障,保证系统正常运行,避免资源浪费。


