授权公布号:CN214250619U
一种大型横流式冷却塔的外板支撑结构
有效
申请
2020-12-29
申请公布
1970-01-01
授权
2021-09-21
预估到期
2030-12-29
| 申请号 | CN202023255609.3 |
| 申请日 | 2020-12-29 |
| 授权公布号 | CN214250619U |
| 授权公告日 | 2021-09-21 |
| 分类号 | F28C1/04;F28C1/10;F28F9/10;F28F9/00 |
| 分类 | 一般热交换; |
| 申请人名称 | 大连斯频德环境设备有限公司 |
| 申请人地址 | 辽宁省大连市经济技术开发区东北四街8号 |
专利法律状态
2021-09-21
授权
状态信息
授权
摘要
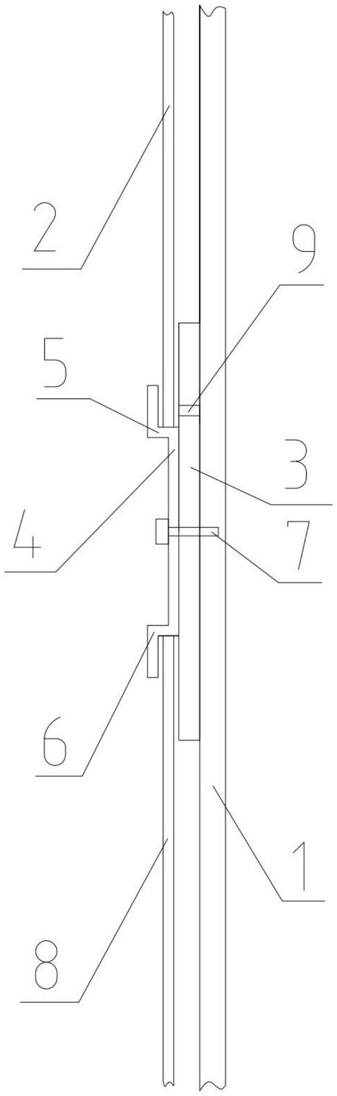
本实用新型公开了一种大型横流式冷却塔的外板支撑结构,属于冷却塔系统技术领域。天梁固定在冷却塔立柱上,外板支撑结构与所述天梁相对设置,所述外板支撑结构包括,与天梁固定连接的连接部,以及位于连接部上下两端的弯折部a和弯折部b,所述弯折部a与天梁上部组成插槽a,所述弯折部b与天梁下部组成插槽b,上外板底部插接于所述插槽a中,下外板顶部插接于所述插槽b中。本实用新型的有益效果是:设置外板支撑结构,将外板设置为分段式,通过外板支撑结构拼接安装,避免因外板过长而导致振动加强,造成环境噪音;单块外板尺寸变小,运输安装方便,提高板材的利用率,延长外板使用寿命。


