授权公布号:CN113624065B
一种冷却塔电动机位置调控装置及方法
有效
申请
2021-08-09
申请公布
2021-11-09
授权
2024-03-22
预估到期
2041-08-09
| 申请号 | CN202110906123.1 |
| 申请日 | 2021-08-09 |
| 申请公布号 | CN113624065A |
| 申请公布日 | 2021-11-09 |
| 授权公布号 | CN113624065B |
| 授权公告日 | 2024-03-22 |
| 分类号 | F28F25/10;B66F7/02;B66F7/28 |
| 分类 | 一般热交换; |
| 申请人名称 | 大连斯频德环境设备有限公司 |
| 申请人地址 | 辽宁省大连市经济技术开发区东北四街8号 |
专利法律状态
2024-03-22
授权
状态信息
授权
2021-11-26
实质审查的生效
状态信息
实质审查的生效;IPC(主分类):F28F25/10;申请日:20210809
2021-11-09
公布
状态信息
公布
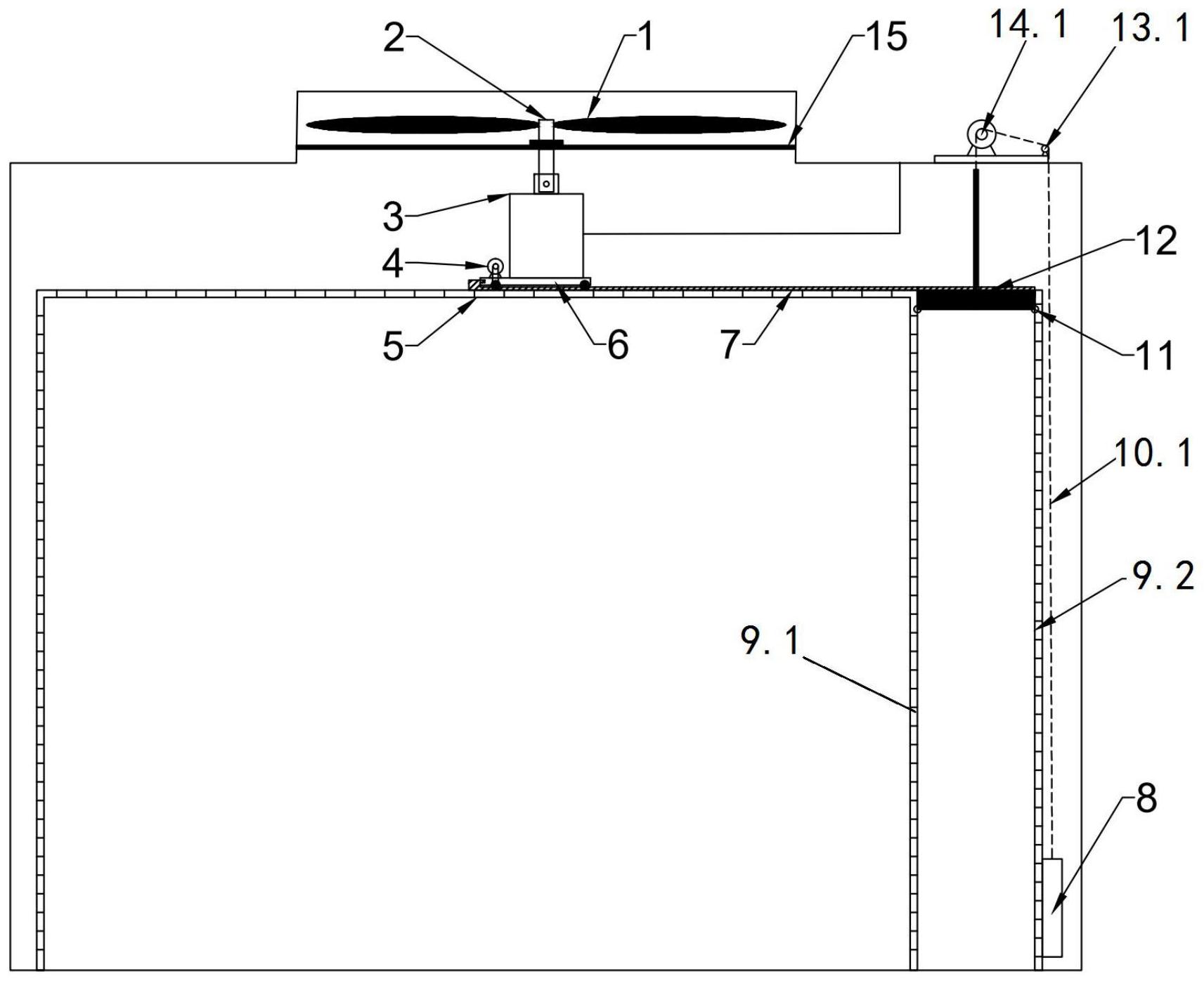
摘要
本发明公开了一种冷却塔电动机位置调控装置及方法,属于能源技术领域。包括用于带动旋转电机上下移动的升降平台,所述升降平台连接纵向驱动机构,旋转电机的输出轴上开有插槽,叶片转轴上的插舌与所述插槽插入式配合,实现输出轴与叶片转轴的可拆卸连接,插槽和插舌上开有共线的通孔,电控插销与所述通孔插入式配合,电控插销连接电控盒。本发明的有益效果是:电动机位置可以通过电气控制实现塔内的定向移动,快速高效地实现电动机与风机主体的分离、电动机的移动以及电动机的复位连接。


