授权公布号:CN213180171U
冷却塔挡水帘飘水率自动测试装置
有效
申请
2020-07-05
申请公布
1970-01-01
授权
2021-05-11
预估到期
2030-07-05
| 申请号 | CN202021287049.7 |
| 申请日 | 2020-07-05 |
| 授权公布号 | CN213180171U |
| 授权公告日 | 2021-05-11 |
| 分类号 | G01F5/00;G01F15/00 |
| 分类 | 测量;测试; |
| 申请人名称 | 上海金日冷却设备有限公司 |
| 申请人地址 | 上海市松江区叶榭镇车亭公路1296号 |
专利法律状态
2021-05-11
授权
状态信息
授权
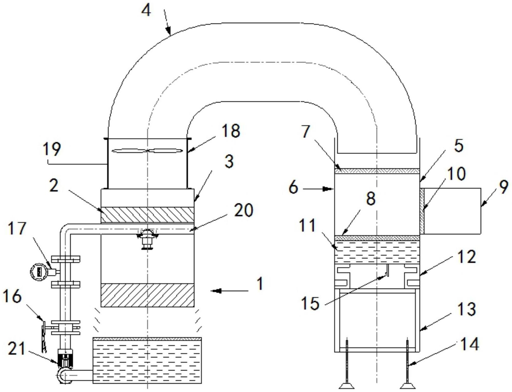
摘要
本实用新型公开了一种冷却塔挡水帘飘水率自动测试装置,包括一台KFT系列冷却塔,在冷却塔安装挡水帘的部位采用便于更换挡水板的活动式侧板,并配设检视窗;在冷却塔原有的出风口处连接一个U型风管,U型风管另一端下部设置集水器,集水器的结构包括外壳、位于外壳上部的上吸水海绵和位于中部的下吸水海绵,在上吸水海绵和下吸水海绵中间部位的侧壁设置新出风口,新出风口的内端口有侧吸水海绵,集水器的上口端部适配在所述U型风管的另一端下部外面,在下吸水海绵的下面配设集水槽,集水槽的底板承载于称重传感器上,称重传感器的输出与显示器连接,称重传感器的底面固定在支架上,支架底面设有高度调节装置;集水槽的底板有一个可控的排水口。


