授权公布号:CN104535106B
用于冷却塔的横流填料测试台
有效
申请
2014-12-18
申请公布
2015-04-22
授权
2017-01-11
预估到期
2034-12-18
| 申请号 | CN201410803372.8 |
| 申请日 | 2014-12-18 |
| 申请公布号 | CN104535106A |
| 申请公布日 | 2015-04-22 |
| 授权公布号 | CN104535106B |
| 授权公告日 | 2017-01-11 |
| 分类号 | G01D21/02 |
| 分类 | 测量;测试; |
| 申请人名称 | 上海金日冷却设备有限公司 |
| 申请人地址 | 上海市松江区叶榭镇车亭公路1296号 |
专利法律状态
2017-01-11
授权
状态信息
授权
2015-05-20
实质审查的生效
状态信息
实质审查的生效IPC(主分类):G01D 21/02申请日:20141218
2015-04-22
公布
状态信息
公开
摘要
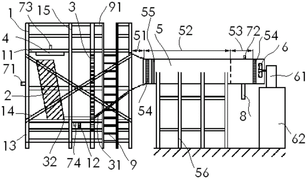
本发明一种用于冷却塔的横流填料测试台,有骨架,其前、后侧及底部焊有面板,顶部有封板,骨架内从左到右设进风口、填料区和整流挡水帘,整流挡水帘到骨架右侧边为防旋涡滤水珠的过渡区;封板下底面连淋水槽,淋水槽下面相对填料区;骨架右上部外连有风筒,风筒右端口设风机;有温度测试系统、气体精密稳流系统和流量计的风量测试系统;流量计经出风气流采集仪与气流出口处连;风筒为直圆管形结构,进口处有转接段;整流挡水帘底部和转接段左端口底部之间,连有引流隔板,冷却水流量测试系统含流量测试仪;整机有热平衡控制系统的控制装置。本发明用于冷却塔的横流填料测试,具缩短冷却塔设计周期,保设计正确快速的优点。


