授权公布号:CN216406656U
一种智能安全的收卷电动门
有效
申请
2021-11-18
申请公布
1970-01-01
授权
2022-04-29
预估到期
2031-11-18
| 申请号 | CN202122834974.8 |
| 申请日 | 2021-11-18 |
| 授权公布号 | CN216406656U |
| 授权公告日 | 2022-04-29 |
| 分类号 | E06B9/08;E06B9/70;E06B9/82 |
| 分类 | 一般门、窗、百叶窗或卷辊遮帘;梯子; |
| 申请人名称 | 济南奥德尔门业有限公司 |
| 申请人地址 | 山东省济南市天桥区黄台居796号202房 |
专利法律状态
2022-04-29
授权
状态信息
授权
摘要
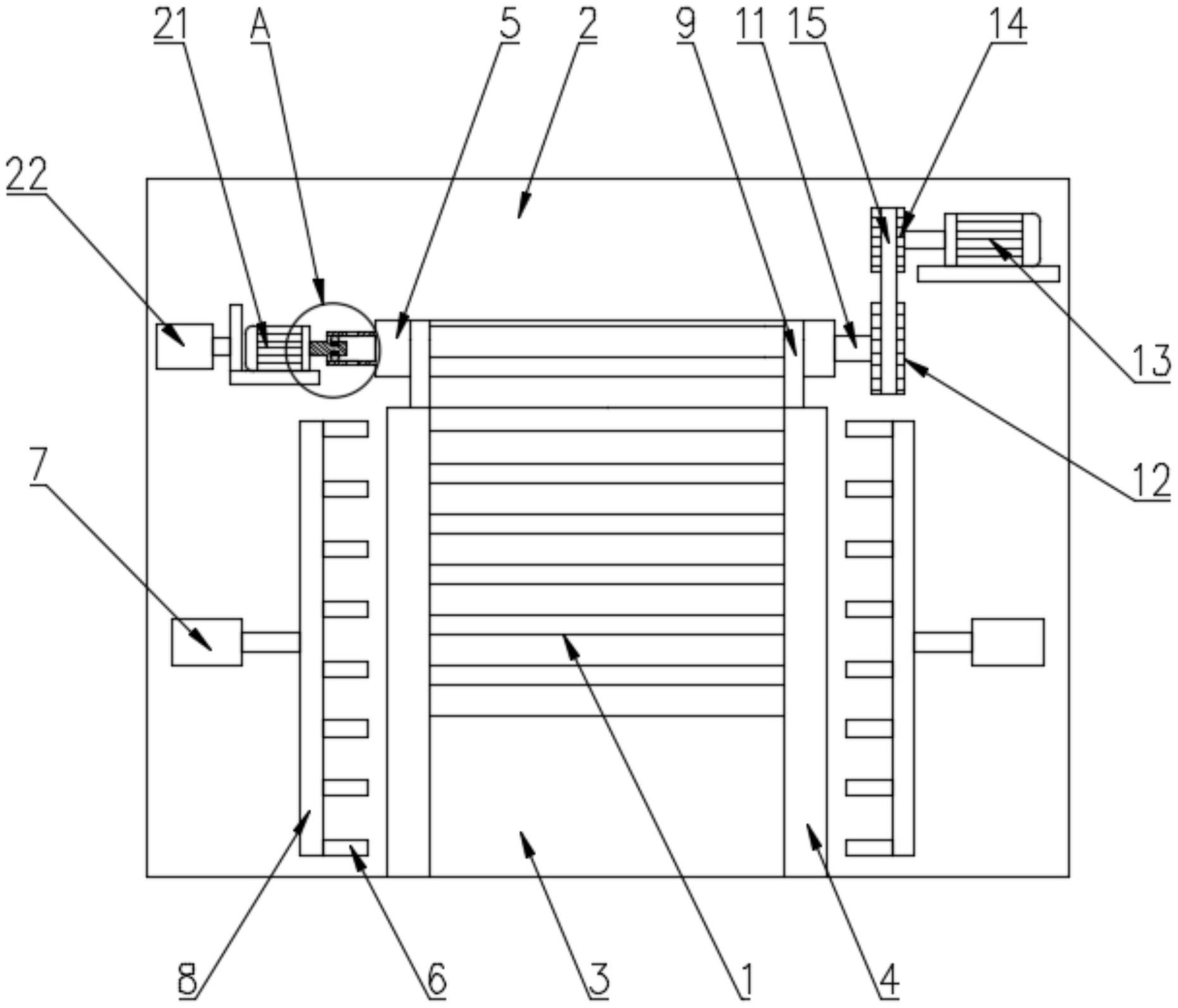
本实用新型公开了一种智能安全的收卷电动门,包括门体,所述门体可拆卸连接在墙体上,所述墙体上设有进出口,所述进出口两侧的所述墙体上均固定有滑槽,所述进出口上方的所述墙体上设有辊轴,所述门体收卷在所述辊轴上,所述门体底部设有无线红外感应器,所述墙体上设有应急限位机构。本实用新型中,通过无线红外感应器、第一气缸、限位杆和限位槽的配合,当检测到门体下方有人员或者物品时,可以对门体进行紧急制动限位,避免门体下降伤害人员或损坏物品,通过第二气缸、第二伺服电机、限位块和限位孔之间的配合,在第一伺服电机出现故障时,可以通过第二旋转轴临时控制门体的工作,避免影响人员对门体的使用。


