授权公布号:CN213747501U
一种冷库快速门密封助推系统
有效
申请
2020-12-09
申请公布
1970-01-01
授权
2021-07-20
预估到期
2030-12-09
| 申请号 | CN202022926947.9 |
| 申请日 | 2020-12-09 |
| 授权公布号 | CN213747501U |
| 授权公告日 | 2021-07-20 |
| 分类号 | F25D23/02;F25D21/08 |
| 分类 | 制冷或冷却;加热和制冷的联合系统;热泵系统;冰的制造或储存;气体的液化或固化; |
| 申请人名称 | 上海观马物流设备有限公司 |
| 申请人地址 | 上海市青浦区徐泾镇振泾路198号1幢2层C区2096室 |
专利法律状态
2021-07-20
授权
状态信息
授权
摘要
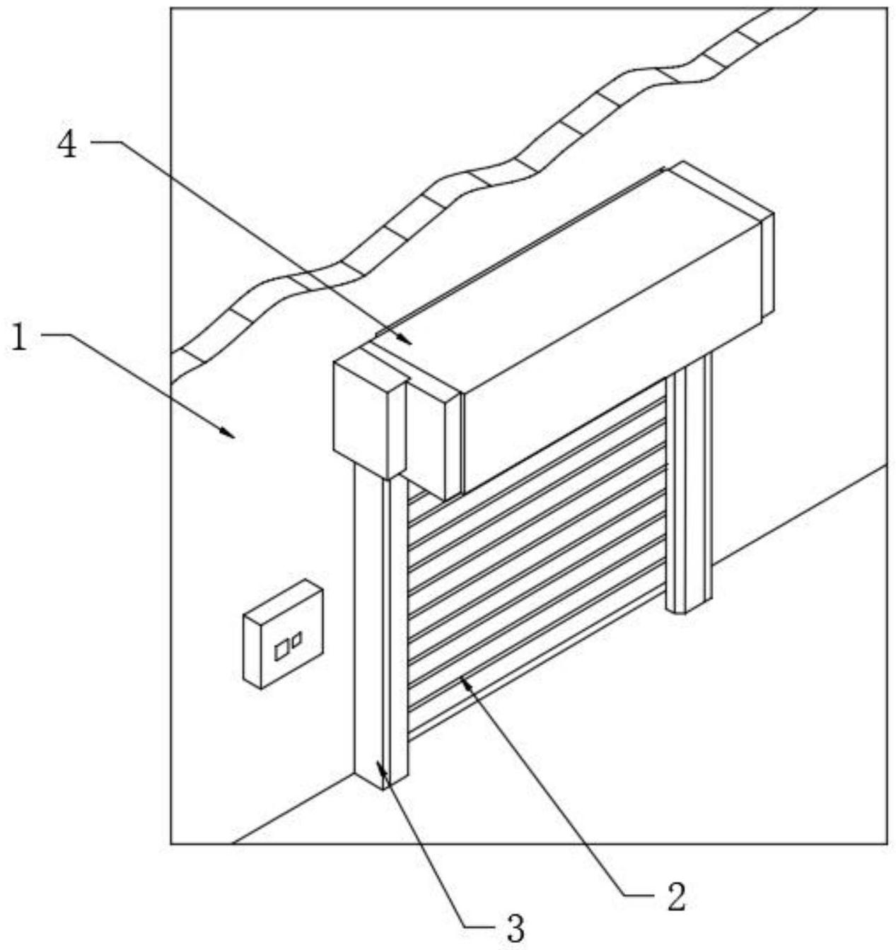
本实用新型公开了一种冷库快速门密封助推系统,包括冷库墙体,所述冷库墙体一侧安装有冷库门,所述冷库门上侧安装有电动收卷罩体,所述冷库门两侧安装有门框罩,所述门框罩内部安装有导向杆,所述冷库门两侧通过滑套与导向杆滑动套设,所述门框罩底部安装有助推机构,所述冷库门一侧安装有绝缘门板,所述冷库门和绝缘门板连接的出外侧安装有密封圈,本实用新型通过门框罩底部安装有的助推机构,在断电的情况下,冷库门可以通过抽掉门框罩底部一侧的定位销,在弹簧的回弹作用下,能够向上顶起冷库门,使得冷库门开启省时省力,通过设有的冷库门一侧安装有绝缘门板,用于进行隔热处理,防止冷气外漏。


