授权公布号:CN219178092U
一种带有除霜机构的速冻机
有效
申请
2022-03-10
申请公布
1970-01-01
授权
2023-06-13
预估到期
2032-03-10
| 申请号 | CN202220519779.8 |
| 申请日 | 2022-03-10 |
| 授权公布号 | CN219178092U |
| 授权公告日 | 2023-06-13 |
| 分类号 | F25D21/14;F25D21/08;F25D21/06 |
| 分类 | 制冷或冷却;加热和制冷的联合系统;热泵系统;冰的制造或储存;气体的液化或固化; |
| 申请人名称 | 山东七十二度制冷设备有限公司 |
| 申请人地址 | 山东省济南市莱芜区口镇街道办事处珠海路9号 |
专利法律状态
2024-02-27
专利权质押登记、变更及注销
状态信息
专利权质押登记;IPC(主分类):F25D21/14;登记号:Y2024980004237;登记日:20240204;出质人:山东七十二度制冷设备有限公司;质权人:山东莱芜农村商业银行股份有限公司;实用新型名称:一种带有除霜机构的速冻机;申请日:20220310;授权公告日:20230613
2023-06-13
授权
状态信息
授权
摘要
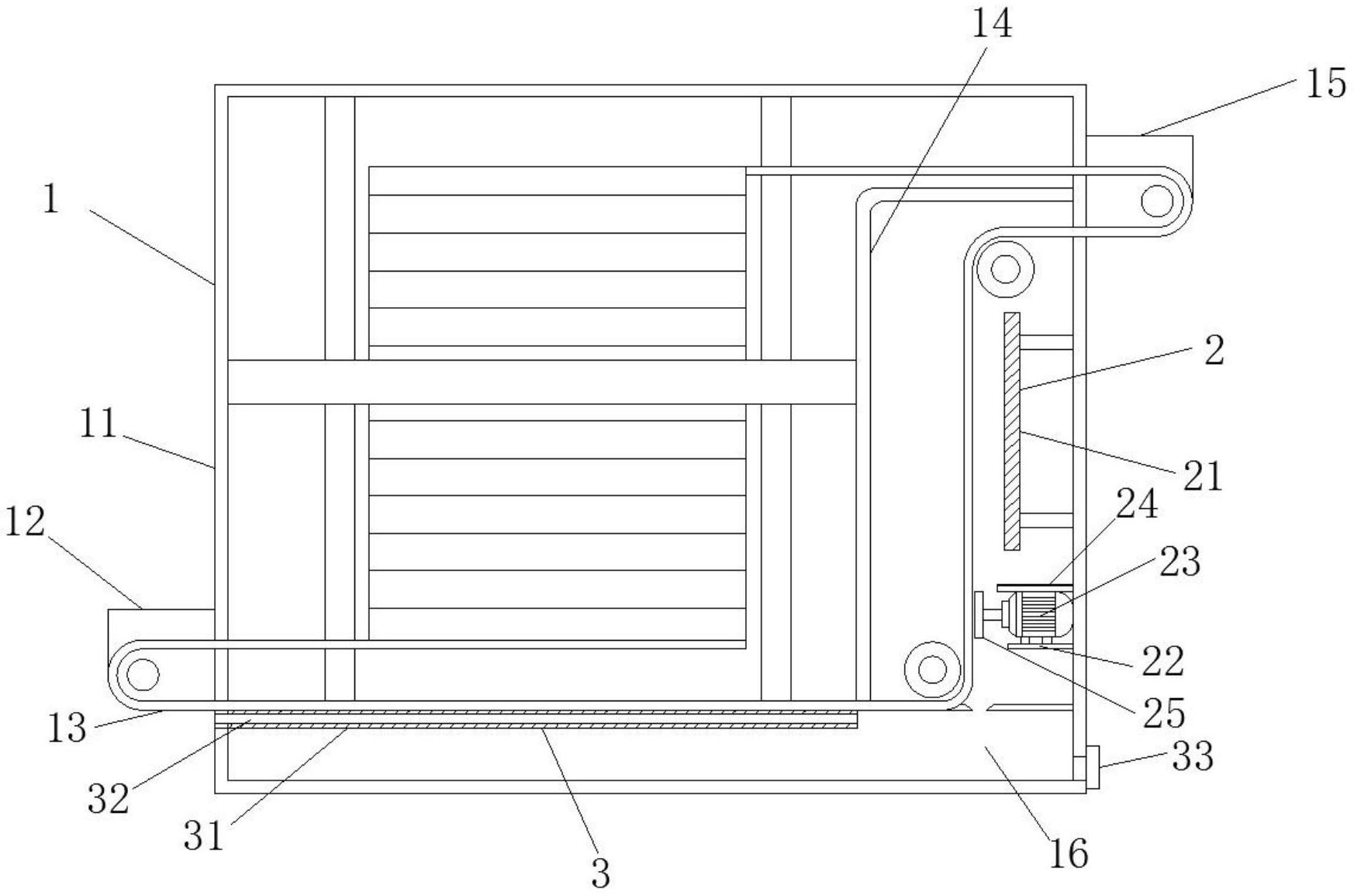
本实用新型涉及速冻机技术领域,且公开了一种带有除霜机构的速冻机,包括螺旋速冻机组件,所述螺旋速冻机组件包括机体、进料口、输送带、隔板、出料口和废水收集箱,所述机体的一侧开设有所述进料口,所述进料口的底部设有所述输送带,所述机体的内部安装有所述隔板,所述机体的另一侧设有所述出料口,所述机体的内部底部设有所述废水收集箱;通过设置加热板,可以对输送带进行加热,减少输送带外表面的冰霜,从而使冰霜变成水滴,而设置电机,可以带动拖把进行转动,从而对输送带的外表面进行清扫,进一步的处理表面冰渣的残留,使输送带保持干净,解决了以往速冻机在长时间使用后,输料机的表面容易产生大量的冰霜,严重影响速冻机的使用的问题。


