授权公布号:CN211739572U
具有双喷淋系统的蒸发式冷凝器
有效
申请
2020-03-27
申请公布
1970-01-01
授权
2020-10-23
预估到期
2030-03-27
| 申请号 | CN202020424869.X |
| 申请日 | 2020-03-27 |
| 授权公布号 | CN211739572U |
| 授权公告日 | 2020-10-23 |
| 分类号 | F25B39/04 |
| 分类 | 制冷或冷却;加热和制冷的联合系统;热泵系统;冰的制造或储存;气体的液化或固化; |
| 申请人名称 | 山东七十二度制冷设备有限公司 |
| 申请人地址 | 山东省济南市莱芜区莱城大道与汇河大道交汇处,济莱协作区民营科技园A1-2 |
专利法律状态
2020-10-23
授权
状态信息
授权
摘要
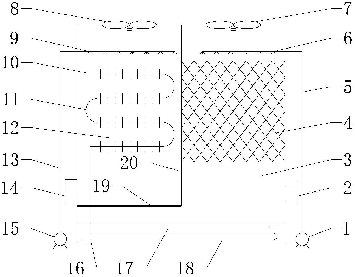
本实用新型公开了一种具有双喷淋系统的蒸发式冷凝器,包括冷凝器壳体,壳体顶壁上设置有排风口,壳体左右两侧壁上各设置有进风口;壳体内被分成三部分,分别是上方左侧为蒸发式冷凝空间、上方右侧为空气‑冷却水换热空间、下方为集水池;蒸发式冷凝空间中布置有用于冷却的冷凝喷淋系统,用来自集水池的冷却水来冷却换热器中的制冷剂;空气‑冷却水换热空间中布置带填料热交换层的填料喷淋系统,由下方进入的空气来与填料喷淋系统下落的冷却水进行热交换,使进入到集水池的冷却水温度更低;集水池中布置光管式盘管,用于降低进入蒸发式冷凝器的制冷剂温度。


