授权公布号:CN114061164B
一种高效型跨临界二氧化碳制冷系统
有效
申请
2021-11-23
申请公布
2022-02-18
授权
2022-12-13
预估到期
2041-11-23
| 申请号 | CN202111394048.1 |
| 申请日 | 2021-11-23 |
| 申请公布号 | CN114061164A |
| 申请公布日 | 2022-02-18 |
| 授权公布号 | CN114061164B |
| 授权公告日 | 2022-12-13 |
| 分类号 | F25B9/00;F25B31/00;F25B41/20;F25B41/40;F25B49/02 |
| 分类 | 制冷或冷却;加热和制冷的联合系统;热泵系统;冰的制造或储存;气体的液化或固化; |
| 申请人名称 | 南京久鼎环境科技股份有限公司 |
| 申请人地址 | 江苏省南京市六合区经济开发区龙池街道龙中西路8号 |
专利法律状态
2022-12-13
授权
状态信息
授权
2022-02-18
公布
状态信息
公布
摘要
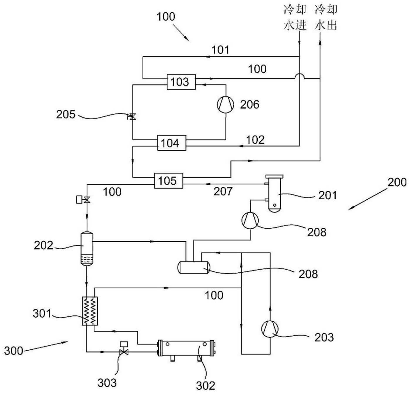
本发明公开了一种高效型跨临界二氧化碳制冷系统,包括,进水组件,包括第一进水管、从第一进水管上延伸出的第二进水管、设置在第一进水管上的第二冷凝器以及设置在第二进水管上的第二蒸发器,所述第二进水管远离第二蒸发器一端设置有气体冷却器,所述第一进水管和第二进水管远端连接至出水管;压缩组件,包括油分、与油分相连的闪蒸罐以及与闪蒸罐出水端相连的第一低压级压缩机;以及,回热组件,所述回热组件设置在闪蒸罐与第一低压级压缩机之间,通过第二蒸发器降低冷却水的进水温度,将冷却塔出口水温25‑35℃降低到15‑20℃,使得进入气体冷却器的水温降低,将气冷器出口CO2的温度降低到20‑25℃,增加了第一蒸发器的单位质量制冷量。


