授权公布号:CN217837305U
一种上料机构
有效
申请
2022-07-08
申请公布
1970-01-01
授权
2022-11-18
预估到期
2032-07-08
| 申请号 | CN202221746621.0 |
| 申请日 | 2022-07-08 |
| 授权公布号 | CN217837305U |
| 授权公告日 | 2022-11-18 |
| 分类号 | B65G47/18;B65G43/08 |
| 分类 | 输送;包装;贮存;搬运薄的或细丝状材料; |
| 申请人名称 | 东莞市瑞科智能科技有限公司 |
| 申请人地址 | 广东省东莞市大朗镇洋坑塘村全通路26号 |
专利法律状态
2022-11-18
授权
状态信息
授权
摘要
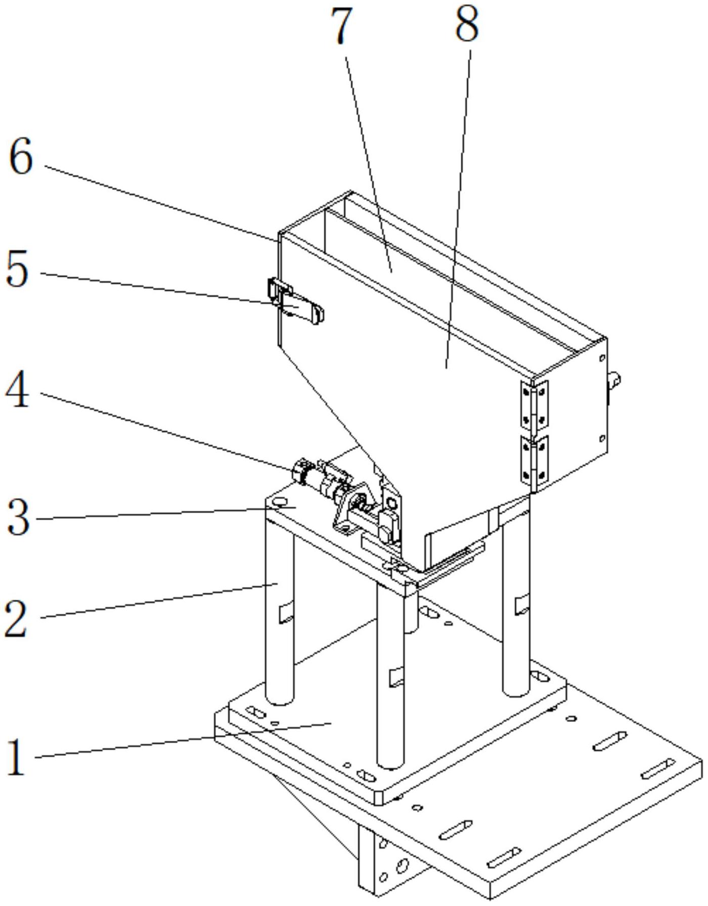
本实用新型公开了一种上料机构,包括底板架,所述底板架通过多根支撑柱固定连接有工作板,所述工作板的上表面固定安装有料斗箱,所述料斗箱的表面设置有开合机构,所述料斗箱的侧表面设置有调节机构,所述料斗箱的底部设置可活动的推料板,所述工作板上安装有驱动推料板运动的推料驱动机构,所述料斗箱的内部设置有可转动的拨料轮,所述料斗箱的一侧设置有驱动拨料轮转动的拨料驱动机构,本装置安装在CCD检测设备的玻璃转盘上方,产品通过S型下料孔掉落在推料板的容料孔内,推料气缸工作驱动推料板向前运动,将推料板内的产品移送到玻璃转盘上,为了防止产品在料斗箱内部卡料,通过拨料气缸驱动拨动轮在料斗箱内部转动进而拨动产品,避免产品堵塞。


