授权公布号:CN218530550U
一种粉体包覆复合材料的生产装置
有效
申请
2022-11-24
申请公布
1970-01-01
授权
2023-02-28
预估到期
2032-11-24
| 申请号 | CN202223125889.5 |
| 申请日 | 2022-11-24 |
| 授权公布号 | CN218530550U |
| 授权公告日 | 2023-02-28 |
| 分类号 | B01F27/85;B01F27/091;B01F27/81;B01F35/12;B01F101/30N |
| 分类 | 一般的物理或化学的方法或装置; |
| 申请人名称 | 青岛万源生物科技有限公司 |
| 申请人地址 | 山东省青岛市城阳区上马街道李仙庄居委会东500米 |
专利法律状态
2023-02-28
授权
状态信息
授权
摘要
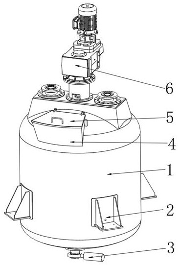
本实用新型涉及涂料生产技术领域,公开了一种粉体包覆复合材料的生产装置,所述第一传动轴的轴杆底端对称设置有两组搅拌框,两组所述搅拌框的侧边框对称设置有两组侧刮刀,且两组搅拌框的底边框对称设置有两组底刮刀,所述第二传动轴的轴杆外侧对称套设有多组旋切桨,所述第三传动轴的轴杆外侧对称套设有多组推送搅拌桨。本实用新型通过利用三组传动轴的同步转动,能够同步推动搅拌框上的两组刮刀对粘附在罐体内壁粘附的原料进行实时搅拌刮拭、推动旋切桨对原料进行旋切搅拌混合、以及推动推送搅拌桨对原料进行循环向上推送形式的搅拌混合,使各种原料保持水平搅拌的同时,又保持上下翻转搅拌。


