授权公布号:CN218850667U
一种刮板冷凝器的电机控制装置
有效
申请
2022-10-31
申请公布
1970-01-01
授权
2023-04-11
预估到期
2032-10-31
| 申请号 | CN202222884804.5 |
| 申请日 | 2022-10-31 |
| 授权公布号 | CN218850667U |
| 授权公告日 | 2023-04-11 |
| 分类号 | H02P27/04;H02P1/16;H02K7/10 |
| 分类 | 发电、变电或配电; |
| 申请人名称 | 桐昆集团股份有限公司 |
| 申请人地址 | 浙江省嘉兴市桐乡市洲泉镇德胜路1号12幢 |
专利法律状态
2023-04-11
授权
状态信息
授权
摘要
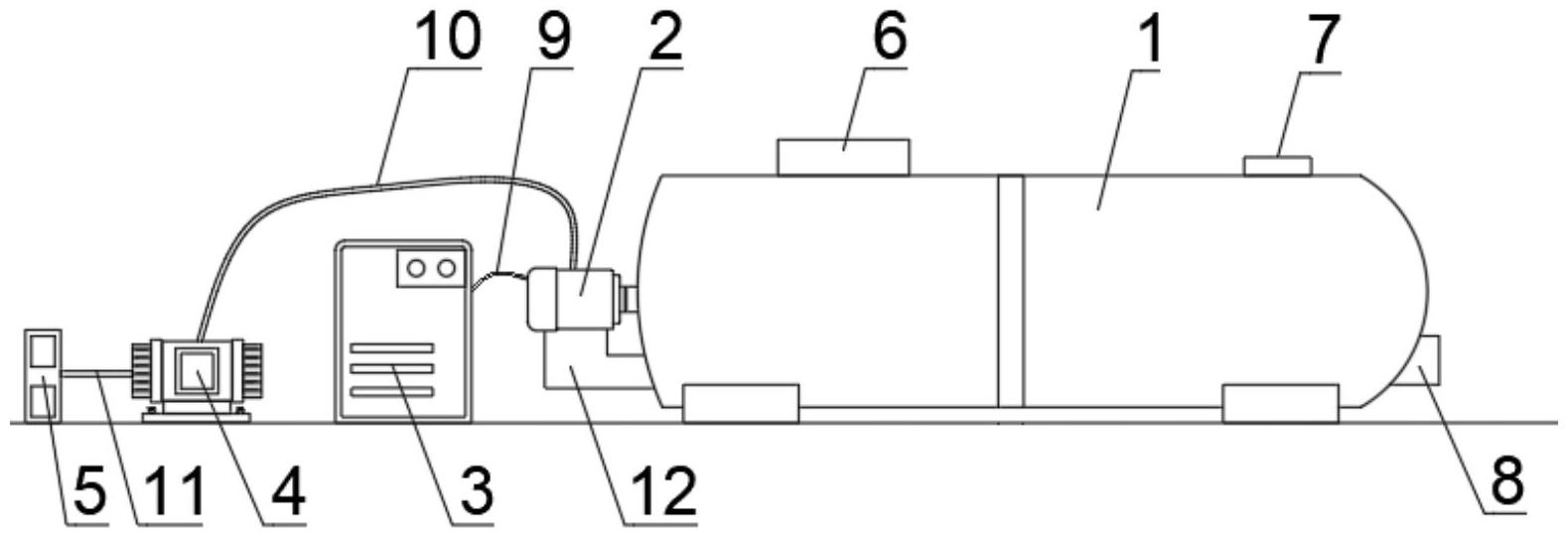
本实用新型公开了一种刮板冷凝器的电机控制装置,包括刮板冷凝器,所述刮板冷凝器的一侧设有驱动电机,所述刮板冷凝器的一端设置有能够对驱动电机进行变频控制的变频器,所述变频器的一端设有能够对驱动电机的运行方向进行控制的PLC控制器,所述PLC控制器的一端连接有接电插座。该新型刮板冷凝器的电机控制装置能够对刮板冷凝器的电机进行频率转换控制的功能,而且能够驱使刮板进行正向或反向的转动,能够较为彻底的将附着于刮板冷凝器内壁表面的聚酯物进行清理,使得刮板冷凝器内部的聚酯物能够顺利的排出至刮板冷凝器的外部,进而延长设备的使用寿命,并且能够维持真空系统的稳定,适合广泛推广使用。


