授权公布号:CN212595687U
一种贝壳粉涂料反应釜
有效
申请
2020-06-01
申请公布
1970-01-01
授权
2021-02-26
预估到期
2030-06-01
| 申请号 | CN202020979103.8 |
| 申请日 | 2020-06-01 |
| 授权公布号 | CN212595687U |
| 授权公告日 | 2021-02-26 |
| 分类号 | B01J19/18 |
| 分类 | 一般的物理或化学的方法或装置; |
| 申请人名称 | 青岛万源生物科技有限公司 |
| 申请人地址 | 山东省青岛市城阳区上马街道李仙庄居委会东500米 |
专利法律状态
2021-02-26
授权
状态信息
授权
摘要
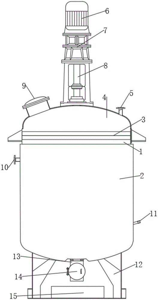
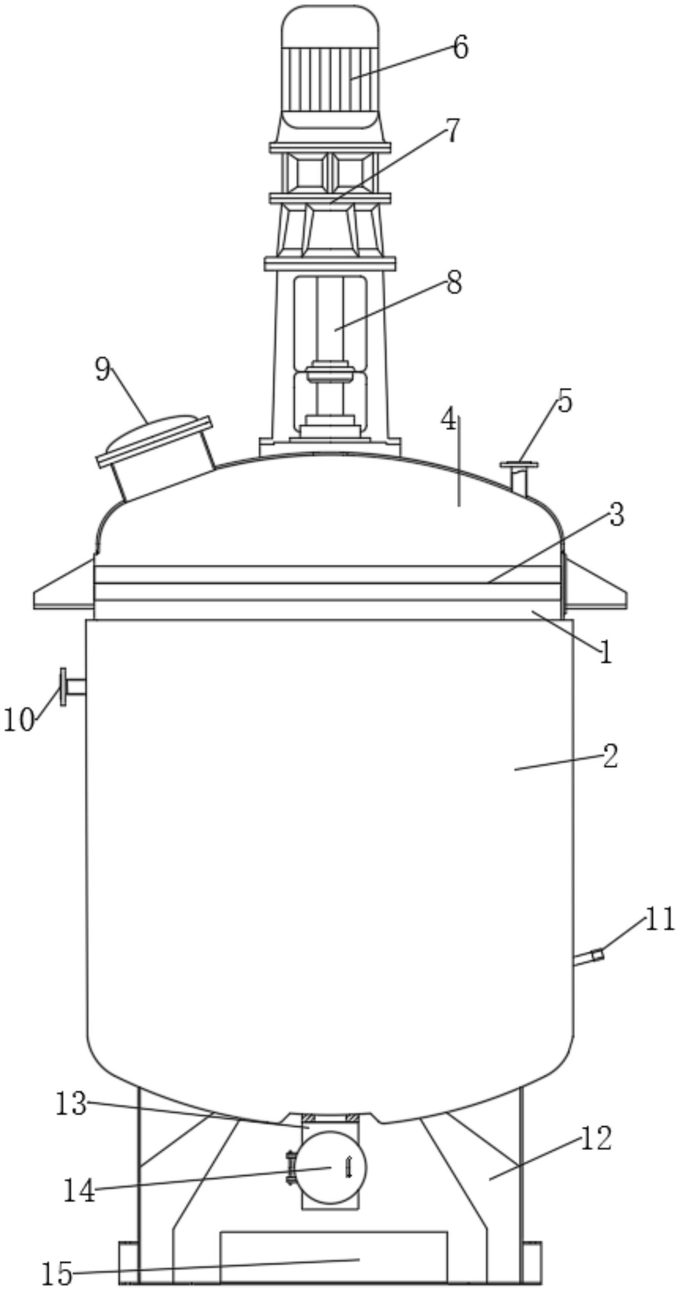
本实用新型公开了一种贝壳粉涂料反应釜,包括反应釜罐体,所述反应釜罐体的外部包裹有隔热套,所述反应釜罐体的上方通过法兰盘与端盖相连接,所述端盖上安装有搅拌电机,所述搅拌电机与减速机相连接,所述减速机通过传动轴与所述反应釜罐体内部的搅拌头相连接,所述端盖上设置有注料嘴和投料管,所述反应釜罐体下方中心处设置有排料管,所述排料管上安装有排料阀门,所述排料管的下方设置有回收槽,该种贝壳粉涂料反应釜,在对贝壳粉原料进行加工时,可以对贝壳粉原料提供保护,避免贝壳粉原料加工过程中发生氧化,同时可以对贝壳粉原料进行流水线化处理,提高加工效率,同时本实用新型具有安全性高、操作简单的优点。


