授权公布号:CN214407593U
一种耐高温的温湿度传感器
有效
申请
2021-04-05
申请公布
1970-01-01
授权
2021-10-15
预估到期
2031-04-05
| 申请号 | CN202120683758.5 |
| 申请日 | 2021-04-05 |
| 授权公布号 | CN214407593U |
| 授权公告日 | 2021-10-15 |
| 分类号 | G01D21/02;G01D11/30 |
| 分类 | 测量;测试; |
| 申请人名称 | 厦门泰勒士自动化科技有限公司 |
| 申请人地址 | 福建省厦门市湖里区悦华路143号天安工业村一期4号厂房5A单元 |
专利法律状态
2021-10-15
授权
状态信息
授权
摘要
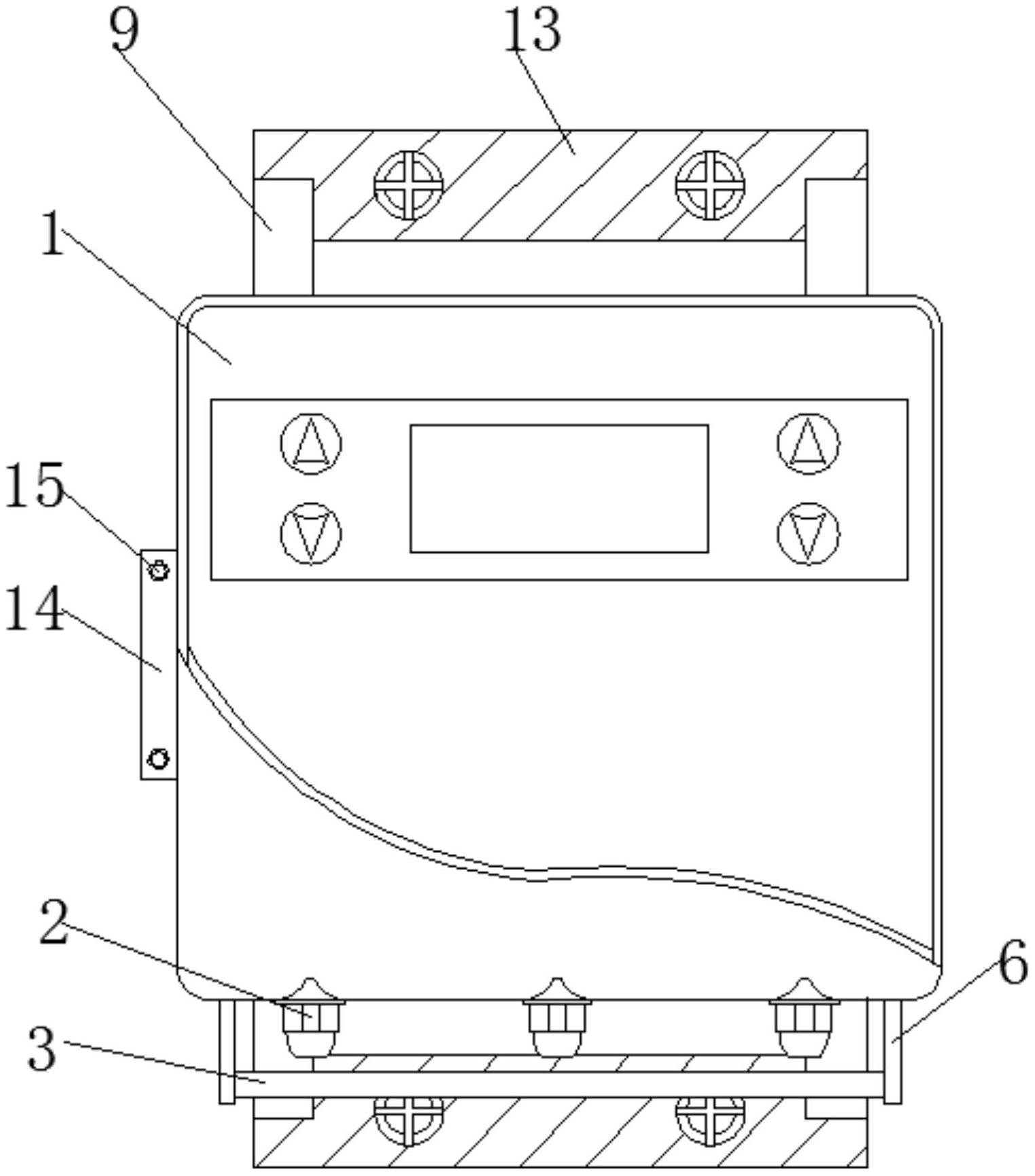
本实用新型公开一种耐高温的温湿度传感器,包括本体、安装座和固定座,所述本体底部连接有接线头,所述接线头一侧设置有夹条,所述夹条一端固定连接有滑块,所述滑块一侧连接有弹簧,所述弹簧外壁活动连接有滑条,所述滑条一侧固定连接有本体。该耐高温的温湿度传感器,使用时将两个夹条向两侧拨开,这样两个夹条之间的间隙就会增大,将接线从接线头穿过,且令接线位于两个夹条之间的弧形凹口之间,然后松开两个夹条,此时在弹簧的弹性作用下,弹簧会通过滑块带动夹条相互靠近,这样夹条就会将接线固定在两个夹条之间,从而令接线头当中的接线在使用时不会晃动,以起到防止接线脱落的作用。


