授权公布号:CN214426766U
一种耐化学腐蚀的温湿度传感器
有效
申请
2021-04-01
申请公布
1970-01-01
授权
2021-10-19
预估到期
2031-04-01
| 申请号 | CN202120671483.3 |
| 申请日 | 2021-04-01 |
| 授权公布号 | CN214426766U |
| 授权公告日 | 2021-10-19 |
| 分类号 | G01D21/02;G01D11/24 |
| 分类 | 测量;测试; |
| 申请人名称 | 厦门泰勒士自动化科技有限公司 |
| 申请人地址 | 福建省厦门市湖里区悦华路143号天安工业村一期4号厂房5A单元 |
专利法律状态
2021-10-19
授权
状态信息
授权
摘要
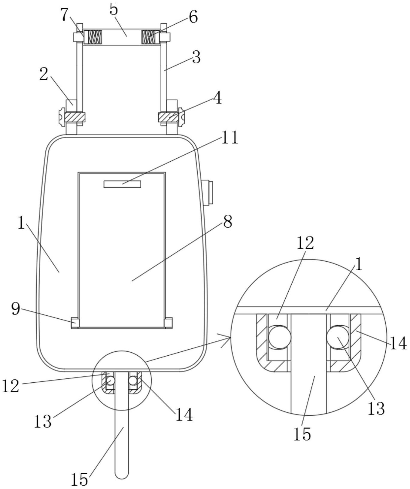
本实用新型公开了一种耐化学腐蚀的温湿度传感器,包括器体、连接杆、检修板和固定环,所述器体的表面连接有固定块,所述连接杆设置在固定块的一侧,所述连接杆的内部贯穿连接有旋钮,所述连接杆的一侧设置有握把,所述握把的内部设置有弹簧,所述弹簧的一端连接有卡捎。该耐化学腐蚀的温湿度传感器的固定块与连接杆之间通过旋钮构成螺纹连接结构,且卡捎的外壁尺寸与连接杆内部开设的卡槽尺寸相匹配,并且卡捎通过弹簧与握把之间构成弹性联动结构,将连接杆与固定块之间对齐后,使旋钮贯穿连接杆和固定块的内部,再按压卡捎,使卡捎挤压弹簧并移动到握把的内部,当卡捎贯穿连接杆的内部,以便于对握把进行安装,达到防脱落的目的。


