授权公布号:CN217111258U
一种抗冲击性强的压力传感器
有效
申请
2022-03-03
申请公布
1970-01-01
授权
2022-08-02
预估到期
2032-03-03
| 申请号 | CN202220456508.2 |
| 申请日 | 2022-03-03 |
| 授权公布号 | CN217111258U |
| 授权公告日 | 2022-08-02 |
| 分类号 | G01L5/00;G01L9/00 |
| 分类 | 测量;测试; |
| 申请人名称 | 湖南菲尔斯特传感器有限公司 |
| 申请人地址 | 湖南省长沙市雨花区振华路199号湖南环保科技产业园创业中心101房 |
专利法律状态
2022-08-02
授权
状态信息
授权
摘要
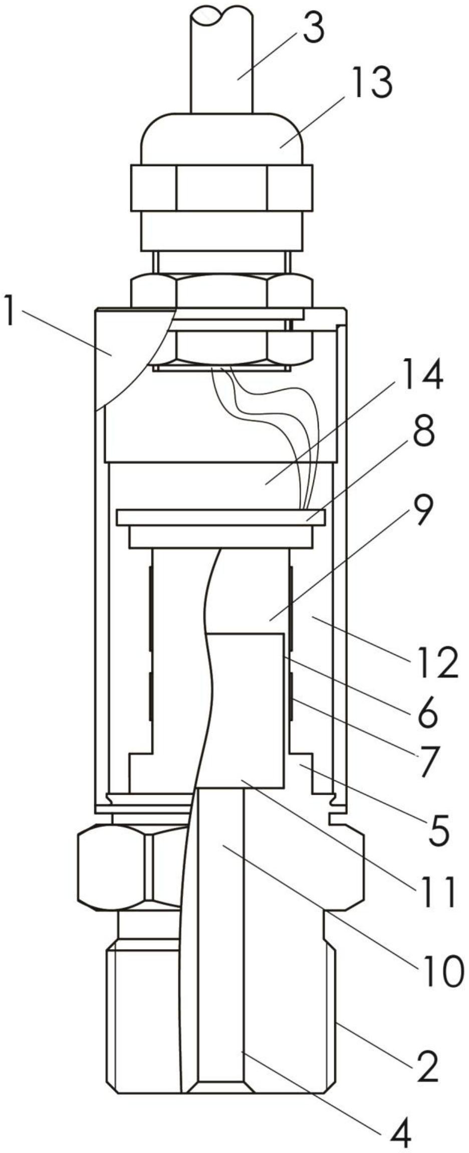
一种抗冲击性强的压力传感器,包括外壳,外壳的两端分别卡装有压力芯体和电缆线,压力芯体的中心纵向设有引压孔,与引压孔对应的压力芯体的侧壁上设有应变区,应变区的外侧面上粘贴箔式应变计,电缆线与设于压力芯体中的线路板连接;引压孔由外向内依次为相连通的小径孔和大径孔,应变区设于与大径孔对应的侧壁上;应变区卡装于外壳内并与外壳之间设有应变腔。本实用新型通过将粘贴箔应变计的应变区设置在压力芯体的侧壁上,从而使应变区受到被测介质或其中杂质直接冲击的几率大大减少,提高了产品的可靠性,增强了产品的抗冲击性,延长了产品的使用寿命。


