授权公布号:CN216509202U
一种食品加工用包装机
有效
申请
2021-11-25
申请公布
1970-01-01
授权
2022-05-13
预估到期
2031-11-25
| 申请号 | CN202122921876.8 |
| 申请日 | 2021-11-25 |
| 授权公布号 | CN216509202U |
| 授权公告日 | 2022-05-13 |
| 分类号 | B65B1/04;B65B1/30;B65B43/46 |
| 分类 | 输送;包装;贮存;搬运薄的或细丝状材料; |
| 申请人名称 | 苏州虾之斋食品有限公司 |
| 申请人地址 | 江苏省苏州市相城区渭塘镇爱格豪路58号内A幢厂房 |
专利法律状态
2022-05-13
授权
状态信息
授权
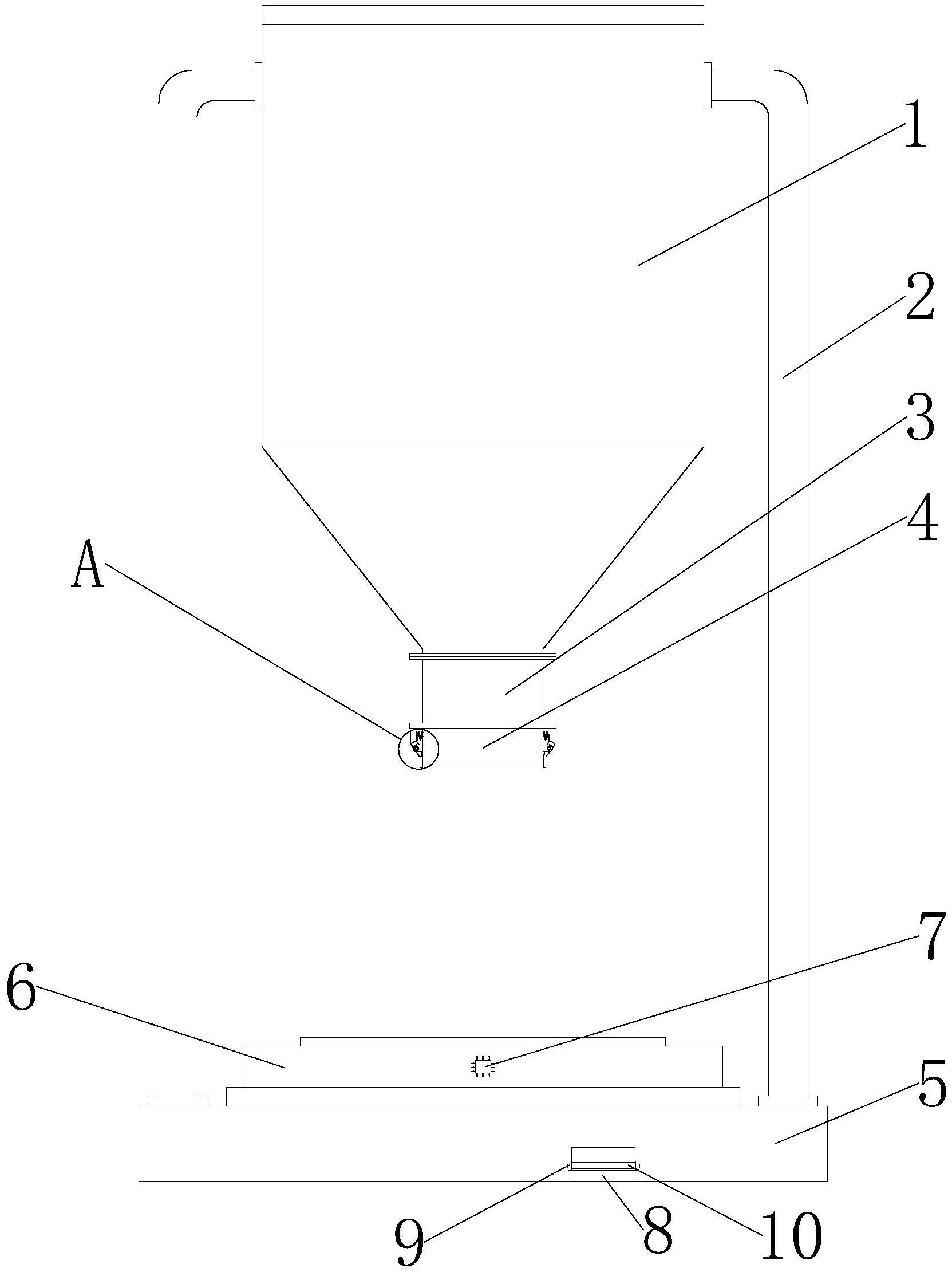
摘要
本实用新型提供了一种食品加工用包装机,包括储料箱和支撑板,储料箱位于支撑板上方,支撑板上端两侧与储料箱左右两端之间均固定有支撑架;储料箱下端固定安装有电动阀门,电动阀门下端相接有排料管,排料管左右两端均安装有用于夹持大米袋的夹持组件。有益效果:通过按压夹板上部,可使夹板通过转轴活动,这样夹板下部会翘起,这样将大米袋套在排料管外部后,松开夹板,就可利用夹板夹持住大米袋,这样不仅夹持方便,而且节约了成本,另外,在进行大米装袋时,通过电子秤,可以进行称量装袋的量,而到达工作人员设定的装袋量时,则顶板上顶踩板,使电动阀门关闭,这样使用较为方便。


