授权公布号:CN216981824U
一种光伏支架的立柱结构和固定装置
有效
申请
2022-02-16
申请公布
1970-01-01
授权
2022-07-15
预估到期
2032-02-16
| 申请号 | CN202220312792.6 |
| 申请日 | 2022-02-16 |
| 授权公布号 | CN216981824U |
| 授权公告日 | 2022-07-15 |
| 分类号 | H02S20/00 |
| 分类 | 发电、变电或配电; |
| 申请人名称 | 福建安泰新能源科技有限公司 |
| 申请人地址 | 福建省漳州市长泰县武官山工业区 |
专利法律状态
2022-07-15
授权
状态信息
授权
摘要
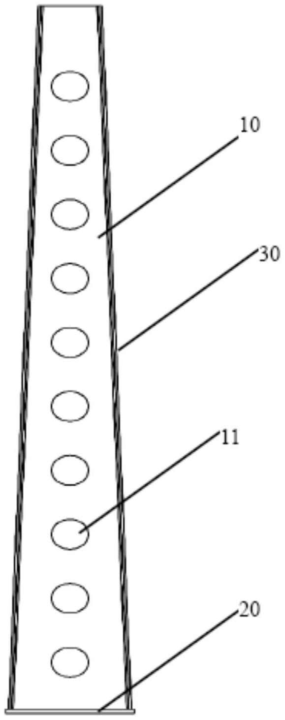
一种光伏支架的立柱结构和固定装置,包括腹板、底板和两翼板;该两翼板固定于腹板两相对侧,该底板固定于腹板和两翼板底端;其特征在于:该腹板的宽度设置成从上到下逐渐增大,且腹板上设有若干通孔。本实用新型的立柱,应力分布比较均匀,并且在达到同样的抗弯性能的情况下,重量更小、降低成本,提高的产品的竞争力。


