授权公布号:CN211046819U
一种光伏支架的横梁结构
有效
申请
2020-01-15
申请公布
1970-01-01
授权
2020-07-17
预估到期
2030-01-15
| 申请号 | CN202020081179.9 |
| 申请日 | 2020-01-15 |
| 授权公布号 | CN211046819U |
| 授权公告日 | 2020-07-17 |
| 分类号 | H02S20/00;F24S25/60 |
| 分类 | 发电、变电或配电; |
| 申请人名称 | 厦门科盛金属科技有限公司 |
| 申请人地址 | 福建省厦门市中国(福建)自由贸易试验区厦门片区象屿路97号厦门国际航运中心D栋8层05单元X |
专利法律状态
2023-08-22
专利权质押合同登记的生效、变更及注销
状态信息
专利权质押合同登记的注销;IPC(主分类):H02S 20/00;授权公告日:20200717;申请日:20200115;专利号:ZL2020200811799;登记号:Y2022980004390;出质人:厦门科盛金属科技有限公司;质权人:中国人民财产保险股份有限公司厦门市分公司;解除日:20230807
2022-05-06
专利权质押合同登记的生效、变更及注销
状态信息
专利权质押合同登记的生效;IPC(主分类):H02S20/00;登记号:Y2022980004390;登记生效日:20220418;出质人:厦门科盛金属科技有限公司;质权人:中国人民财产保险股份有限公司厦门市分公司;实用新型名称:一种光伏支架的横梁结构;申请日:20200115;授权公告日:20200717
2020-07-17
授权
状态信息
授权
摘要
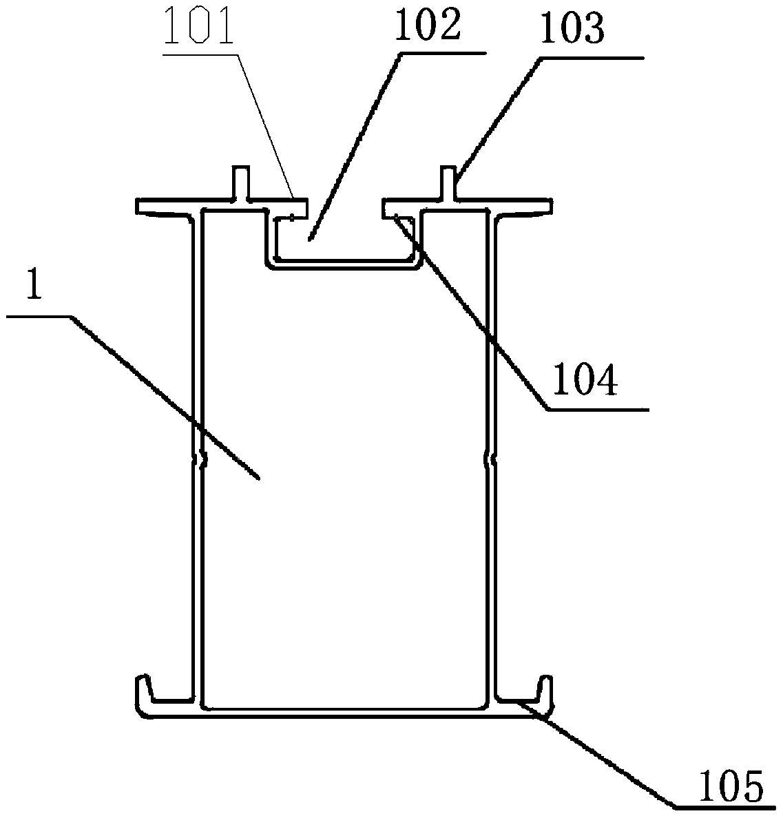
一种光伏支架的横梁结构,包括横梁腔体及安装在横梁腔体内的螺栓螺杆;横梁腔体上表面处设置有横梁槽口,横梁槽口的两边对称设置有凸起的横梁台阶,而在横梁槽口的两边缘处对称对向设置有横梁槽口延长边;本实用新型结构设计巧妙,通过在横梁腔体设置有可供螺栓螺杆安装的横梁槽口及与之相对应的凸包,可以方便螺栓螺杆的安装连接;而且另外设置的横梁台阶可以非常方便地将组件面板轻松放置,可以让施工更加便捷,大大提高了工作效率。


