授权公布号:CN216414228U
一种卡块及压块组件
有效
申请
2021-09-29
申请公布
1970-01-01
授权
2022-04-29
预估到期
2031-09-29
| 申请号 | CN202122384078.6 |
| 申请日 | 2021-09-29 |
| 授权公布号 | CN216414228U |
| 授权公告日 | 2022-04-29 |
| 分类号 | H02S20/30 |
| 分类 | 发电、变电或配电; |
| 申请人名称 | 厦门国瑞能新能源技术有限公司 |
| 申请人地址 | 福建省厦门市厦门火炬高新区(翔安)产业区同龙二路942号612 |
专利法律状态
2022-04-29
授权
状态信息
授权
摘要
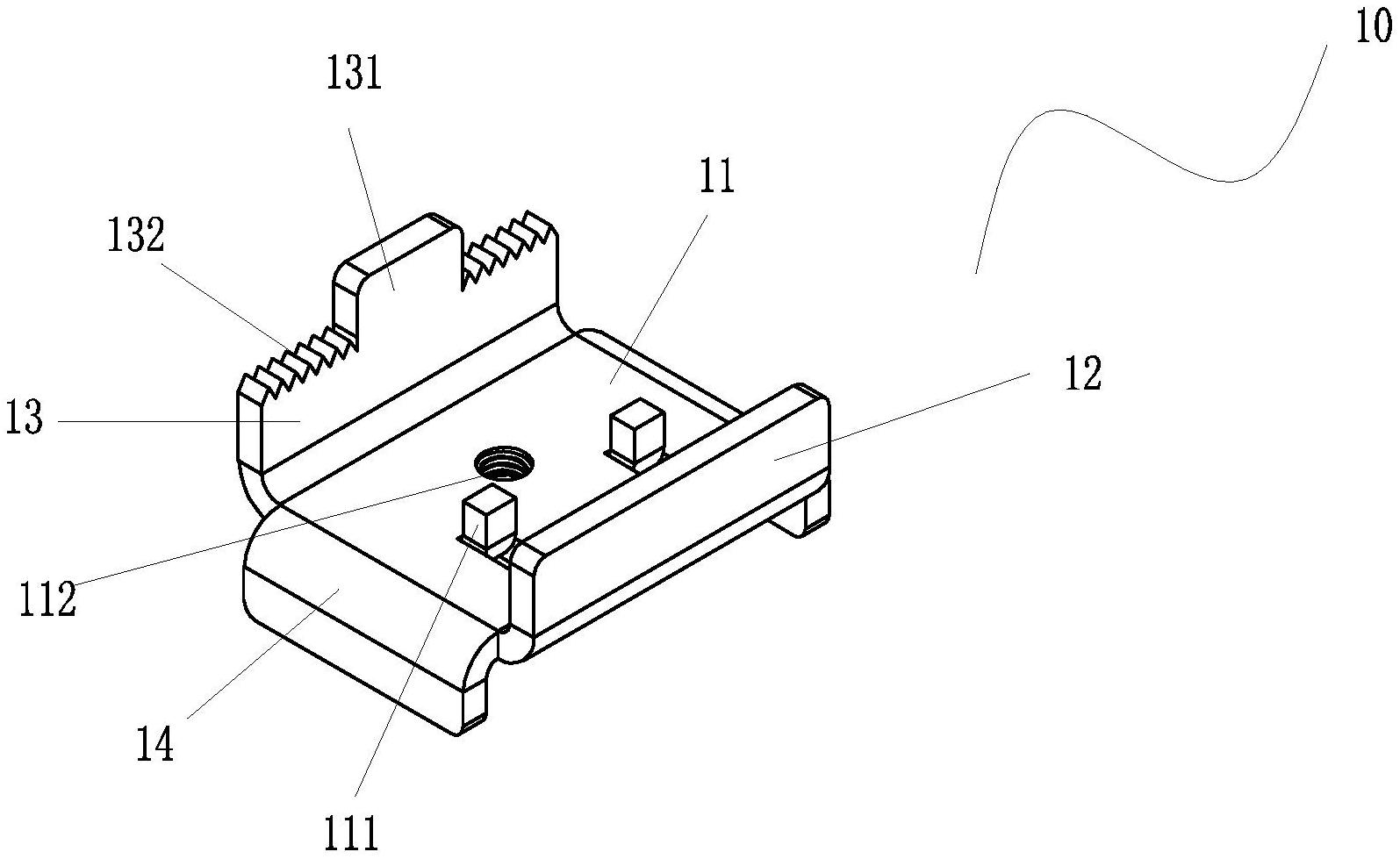
本实用新型公开了一种卡块及压块组件,卡块具有底壁,底壁的两对侧分别连接有与该底壁相垂直的第一侧壁和第二侧壁,第一侧壁和第二侧壁相互平行,底壁上凸设有第一限位凸起,第一限位凸起的高度低于第一侧壁和第二侧壁,底壁上还设有一第一锁孔,锁孔与该第一限位凸起在第一侧壁和第二侧壁之间的宽度方向上具有间隔距离,第二侧壁顶部的中部位置凸设有一第二限位凸起。压块组件,包括所述的卡块、压块、螺栓,压块上设有第二锁孔,螺栓依次穿过第二锁孔和第一锁孔后将卡块与压块锁接。它具有如下优点:檩条不需要设置安装孔,即可实现檩条与光伏板的固定,不限于光伏板的尺寸规格,通用性好。


