授权公布号:CN216437111U
一种连接件及一种光伏支架
有效
申请
2021-09-29
申请公布
1970-01-01
授权
2022-05-03
预估到期
2031-09-29
| 申请号 | CN202122384358.7 |
| 申请日 | 2021-09-29 |
| 授权公布号 | CN216437111U |
| 授权公告日 | 2022-05-03 |
| 分类号 | H02S20/30 |
| 分类 | 发电、变电或配电; |
| 申请人名称 | 厦门国瑞能新能源技术有限公司 |
| 申请人地址 | 福建省厦门市厦门火炬高新区(翔安)产业区同龙二路942号612 |
专利法律状态
2022-05-03
授权
状态信息
授权
摘要
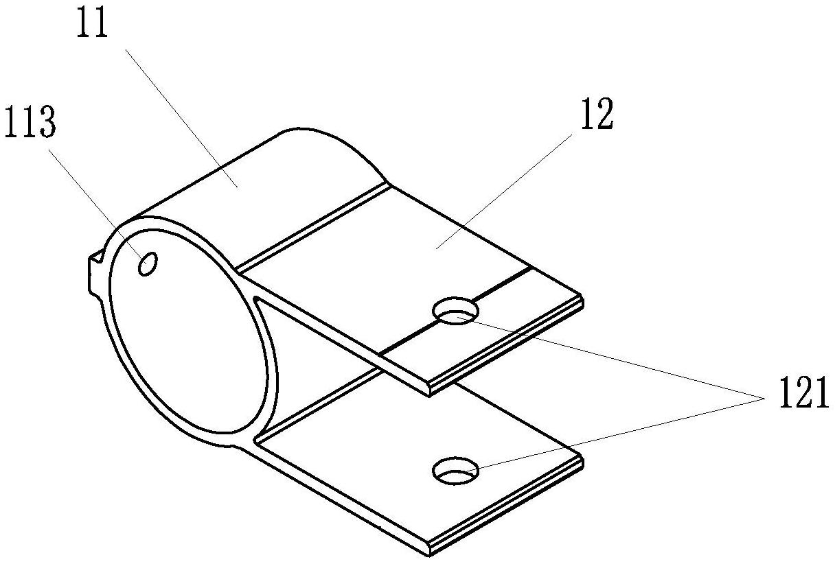
本实用新型公开了一种连接件及一种光伏支架,连接件具有一圆形柱筒和两连接平板,两连接平板的一端连接于圆形柱筒的筒外壁上且相互平行,两连接平板平行圆形柱筒的轴向,两连接平板上各开设有一同轴的锁孔,圆形柱筒的筒壁上设有至少一锁接结构,该锁接结构包括在圆形柱筒的筒外壁上凸设的沿圆形柱筒轴向延伸的一凸筋、在该凸筋上沿轴向间隔开设的若干贯穿圆形柱筒内外的螺孔。光伏支架包括立柱、纵杆和斜撑,斜撑的两端分别连接纵杆和立柱,斜撑与立柱之间通过所述的连接件连接。它具有如下优点:连接牢固、安装便捷;结构简单。


