授权公布号:CN208372985U
一种高效食品机械用混合装置
有效
申请
2018-03-29
申请公布
1970-01-01
授权
2019-01-15
预估到期
2028-03-29
| 申请号 | CN201820433500.8 |
| 申请日 | 2018-03-29 |
| 授权公布号 | CN208372985U |
| 授权公告日 | 2019-01-15 |
| 分类号 | B01F13/10;B01F15/00 |
| 分类 | 一般的物理或化学的方法或装置; |
| 申请人名称 | 上海亨泽食品有限公司 |
| 申请人地址 | 上海市宝山区南大路30号104幢 |
专利法律状态
2019-12-13
专利申请权、专利权的转移
状态信息
专利权的转移;IPC(主分类):B01F 13/10;专利号:ZL2018204335008;登记生效日:20191126;变更事项:专利权人;变更前权利人:许昌锦荣食品有限公司;变更后权利人:上海亨泽食品有限公司;变更事项:地址;变更前权利人:461000 河南省许昌市建安区将官池镇湖徐村;变更后权利人:201900 上海市宝山区南大路30号104幢
2019-01-15
实用新型专利权授予
状态信息
授权
摘要
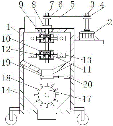
本实用新型公开了一种高效食品机械用混合装置,包括第一箱体,所述第一箱体内腔顶部的左侧连通有进料斗,所述第一箱体右侧的顶部固定连接有支撑座,支撑座的顶部固定连接有第一电机,所述第一电机输出轴的顶部固定连接有第一旋转轴,所述第一旋转轴的顶部套设有主动轮,所述主动轮的内腔通过皮带传动连接有从动轮。本实用新型通过第一电机、第一旋转轴、主动轮、皮带、从动轮、搅拌轴、轴承座、固定架、主动齿轮、从动齿轮、第二旋转轴、搅拌叶、第二箱体、第二电机、第三旋转轴、转盘和搅拌杆的配合,可对食品原材料进行高效搅拌,解决了现有的混合装置搅拌效率低的问题,避免食品原材料搅拌不充分的现象。


