授权公布号:CN210033186U
一种智能高分子基新型材料透气窗
有效
申请
2018-12-25
申请公布
1970-01-01
授权
2020-02-07
预估到期
2028-12-25
| 申请号 | CN201822189412.0 |
| 申请日 | 2018-12-25 |
| 授权公布号 | CN210033186U |
| 授权公告日 | 2020-02-07 |
| 分类号 | E06B7/02;E06B7/28 |
| 分类 | 一般门、窗、百叶窗或卷辊遮帘;梯子; |
| 申请人名称 | 吉林省华创门窗科技有限公司 |
| 申请人地址 | 吉林省长春市二道区远达大街与惠工路交汇长春东北亚国际采购中心B区B-4幢125号房 |
专利法律状态
2021-03-12
专利权质押合同登记的生效、变更及注销
状态信息
专利权质押合同登记的生效、变更及注销
2021-03-09
专利权质押合同登记的生效、变更及注销
状态信息
专利权质押合同登记的生效、变更及注销
2020-05-12
专利权质押合同登记的生效、变更及注销
状态信息
专利权质押合同登记的生效 IPC(主分类):E06B7/02 登记号:Y2020220000022 登记生效日:20200417 出质人:吉林省华创门窗科技有限公司 质权人:吉林省众信科技信用融资担保有限公司 实用新型名称:一种智能高分子基新型材料透气窗 授权公告日:20200207
2020-02-07
授权
状态信息
授权
摘要
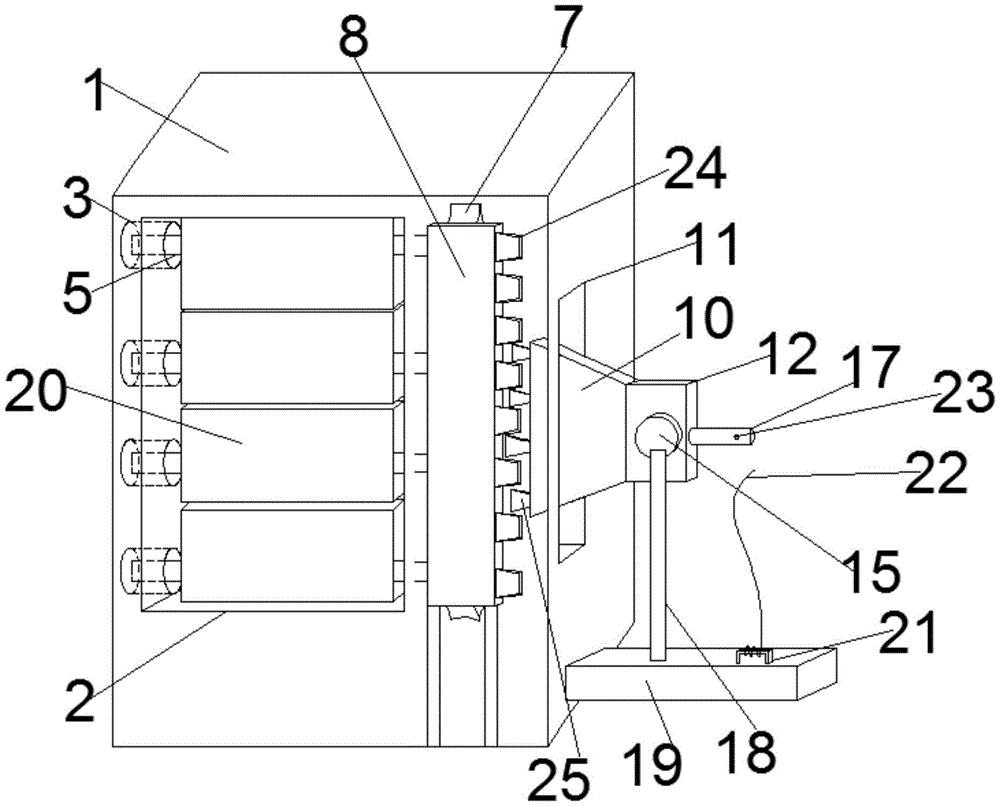
本实用新型公开了一种智能高分子基新型材料透气窗,包括窗框体,所述窗框体上开设有窗槽,所述窗框体为空腔结构,所述窗槽槽壁一侧开设有若干个圆槽,所述穿槽槽壁另一侧开设有与若干个圆槽数量相同的圆孔,所述窗槽槽内放置有与圆孔数量相同的圆杆,所述圆杆一端分别滑动贯穿相对应的若干个圆槽,且所述圆杆一端分别与相对应的若干个圆槽相接触,所述圆杆另一端分别滑动贯穿相对应的所述圆孔。有益效果:竖板升降时,第一齿条与圆形齿条捏合,因此带动齿盘做同向转动,最终会带动圆杆上的窗叶进行开合运动,穿板在运动时,穿板在通过穿杆在穿孔内转动,方便调整窗叶之间的距离,从而实现了更加省力的作用。


