授权公布号:CN216130401U
一种幕墙框架及单元式幕墙
有效
申请
2021-08-10
申请公布
1970-01-01
授权
2022-03-25
预估到期
2031-08-10
| 申请号 | CN202121864985.4 |
| 申请日 | 2021-08-10 |
| 授权公布号 | CN216130401U |
| 授权公告日 | 2022-03-25 |
| 分类号 | E04B2/88;E04B2/96 |
| 分类 | 建筑物; |
| 申请人名称 | 金刚幕墙集团有限公司 |
| 申请人地址 | 广东省广州市天河区元岗路616号A7栋 |
专利法律状态
2022-03-25
授权
状态信息
授权
摘要
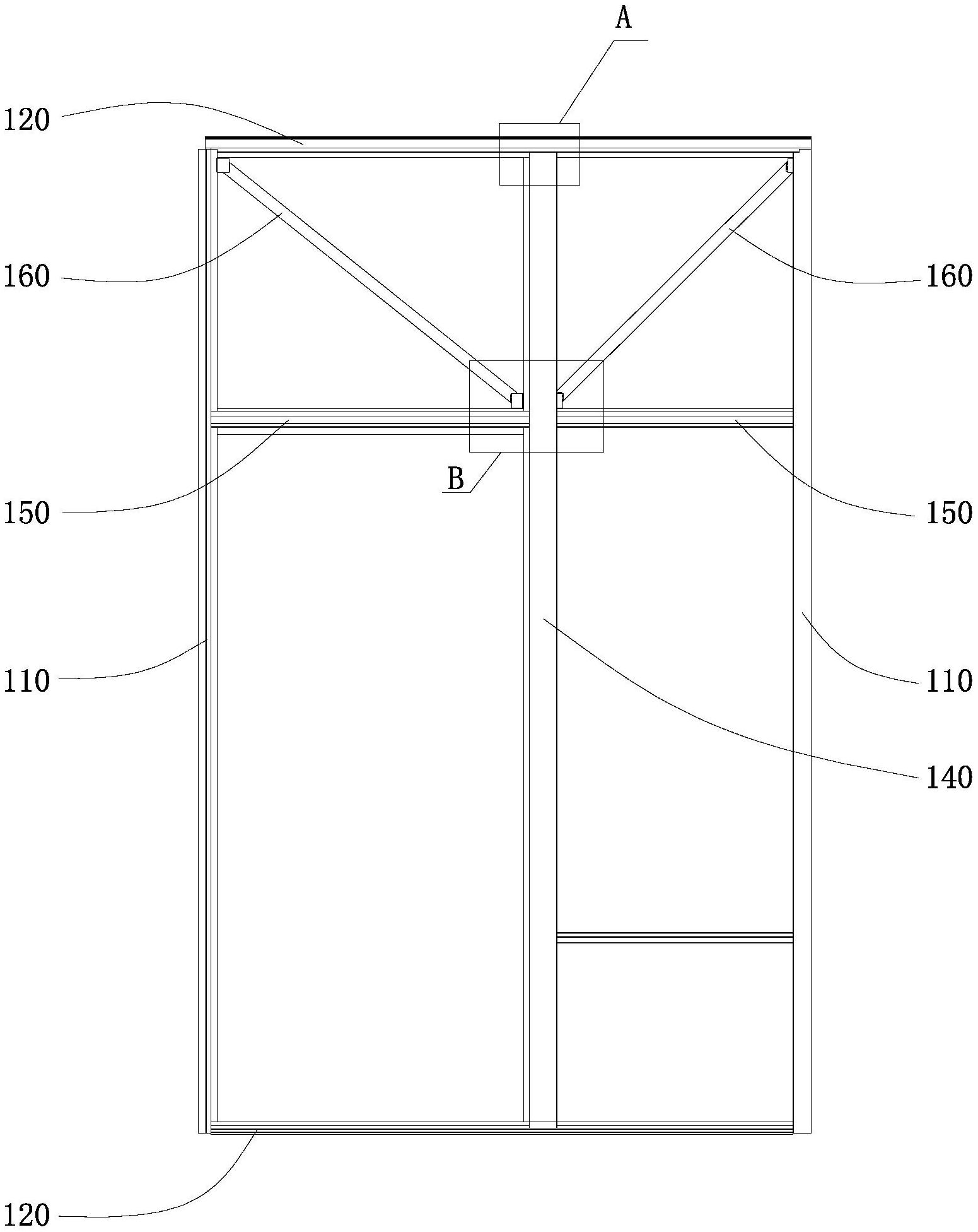
本实用新型提出一种幕墙框架及单元式幕墙,包括外框、中立柱、第一横梁和斜撑,外框包括边立柱和边横梁,边横梁上设置有套芯,中立柱的两端套接在套芯上,第一横梁连接中立柱和边立柱,斜撑连接中立柱和边立柱,斜撑的一端位于中立柱和第一横梁的连接处,斜撑的另一端位于边立柱和边横梁的连接处。通过套芯进行安装使中立柱结构稳定,中立柱和第一横梁使外框的受力更加均匀,提高了幕墙框架的整体强度,连接中立柱的斜撑将中立柱的受力传递到边立柱上,进一步提高了幕墙框架的强度,通过套芯进行安装还使得中立柱的安装更加方便。


