授权公布号:CN210976203U
一种扭转双曲面金属板幕墙三维调节结构
有效
申请
2019-08-20
申请公布
1970-01-01
授权
2020-07-10
预估到期
2029-08-20
| 申请号 | CN201921360366.4 |
| 申请日 | 2019-08-20 |
| 授权公布号 | CN210976203U |
| 授权公告日 | 2020-07-10 |
| 分类号 | E04B2/88 |
| 分类 | 建筑物; |
| 申请人名称 | 金刚幕墙集团有限公司 |
| 申请人地址 | 广东省广州市天河区元岗路616号慧通产业广场A7栋 |
专利法律状态
2020-07-10
授权
状态信息
授权
摘要
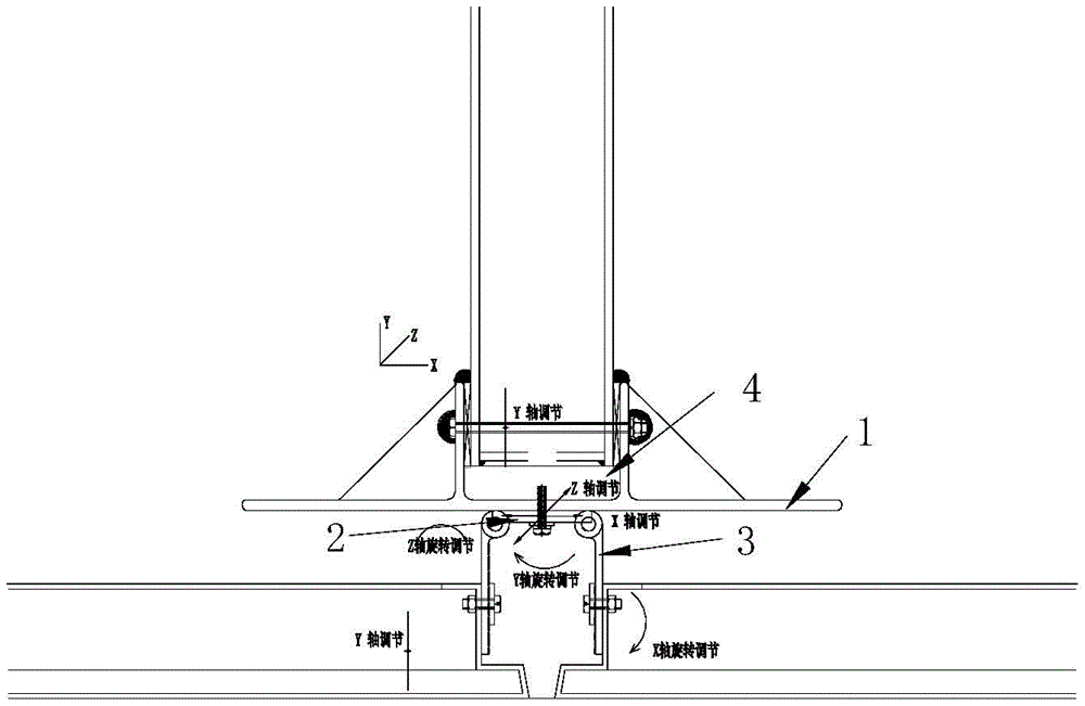
本实用新型公开了一种扭转双曲面金属板幕墙三维调节结构,通过设置在安装板上的进出调节槽在Y轴方向调节安装板,通过第二转接件上的长圆孔在Y轴方向调节金属板,通过移动第一转接件在X轴方向和Z轴方向进行调节完成金属板安装的初定位,通过第二转接件绕第一转接件转动完成金属板绕转轴方向的调节定位,通过第二转接件的长圆孔完成金属板的上下调节定位,同时金属板绕第二转接件上的螺栓转动,通过以上的三维的金属板调节定位,有效保证了金属板的安装精度,使其可适应双曲面等异形金属板幕墙的应用。此实用新型用于建筑幕墙领域。


