授权公布号:CN205399769U
一种应用于压型钢板-混凝土楼板的幕墙上墙连接构造
有效
申请
2016-02-23
申请公布
1970-01-01
授权
2016-07-27
预估到期
2026-02-23
| 申请号 | CN201620136473.9 |
| 申请日 | 2016-02-23 |
| 授权公布号 | CN205399769U |
| 授权公告日 | 2016-07-27 |
| 分类号 | E04B2/90 |
| 分类 | 建筑物; |
| 申请人名称 | 上海美特幕墙有限公司 |
| 申请人地址 | 上海市青浦区崧泽大道9777号 |
专利法律状态
2016-07-27
授权
状态信息
授权
摘要
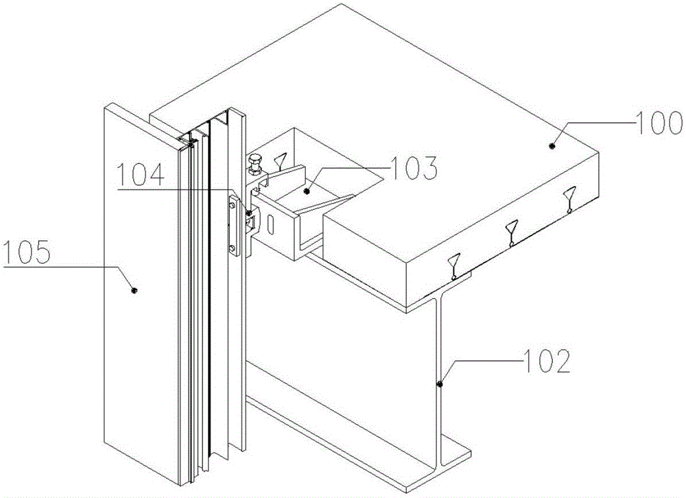
本实用新型提供了一种应用于压型钢板?混凝土楼板的幕墙上墙连接构造:包括压型钢板?混凝土组合楼板、型钢钢梁、金属座件、转接码件、幕墙板片,所述压型钢板?混凝土组合楼板浇筑铺设在型钢钢梁上,所述金属座件安装在组合楼板凹槽内,并与型钢钢梁顶面连接,所述转接码件设置在所述幕墙板片,且与所述金属座件配合连接。本实用新型无需在钢筋混凝土楼板上预先埋设预埋件,使幕墙板块的转接码件直接与结构钢梁连接,节省了安装部件、提高了安装效率;消除了预埋件的安全隐患,同时也节省了预埋件生产及安装的成本和工期;本实用新型结构简单,材质轻,拆卸方便,提高了工作效率,降低了劳动成本。


