授权公布号:CN217079306U
一种幕墙安装用龙骨结构
有效
申请
2022-04-06
申请公布
1970-01-01
授权
2022-07-29
预估到期
2032-04-06
| 申请号 | CN202220789565.2 |
| 申请日 | 2022-04-06 |
| 授权公布号 | CN217079306U |
| 授权公告日 | 2022-07-29 |
| 分类号 | E04B2/96 |
| 分类 | 建筑物; |
| 申请人名称 | 北京建黎建设工程有限公司 |
| 申请人地址 | 北京市丰台区汽车博物馆东路1号院2号楼2层206 |
专利法律状态
2022-07-29
授权
状态信息
授权
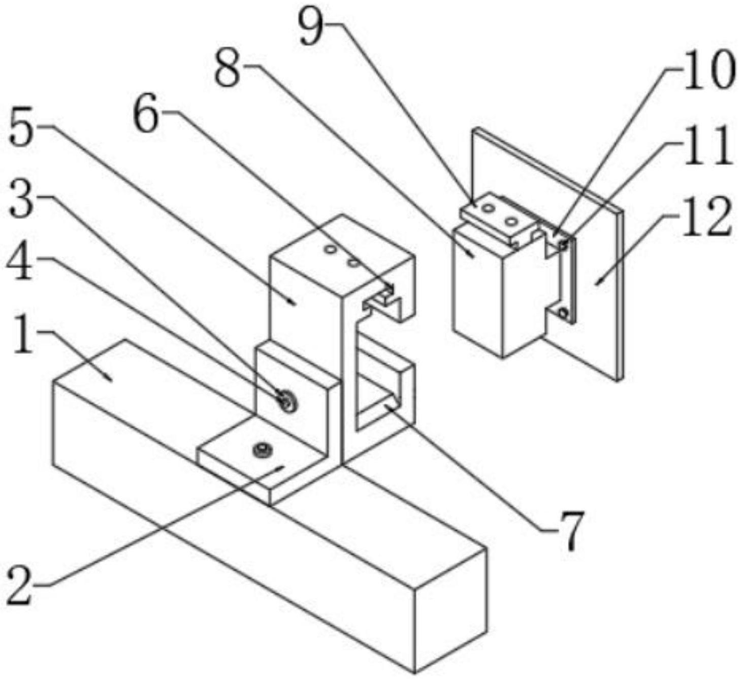
摘要
本申请涉及幕墙安装技术领域,公开了一种幕墙安装用龙骨结构。本申请中,龙骨的上表面通过预设的螺栓固定安装有安装板,安装板的一端内部滑动连接有螺栓,螺栓的外部螺纹连接有螺帽,螺栓的外部设置有安装基板,安装板的一端抵接于安装基板,安装基板的内部滑动连接有安装滑块,安装滑块的内部开设有卡块槽,卡块槽的内顶部焊接有弹簧,弹簧的一端焊接有卡块,卡块滑动连接于卡块槽的内部,安装基板的内底部开设有供卡块卡接的卡槽,安装滑块远离龙骨的一端焊接有幕墙安装板,通过将卡块卡接于卡槽的内部将安装滑块卡接于安装基板的中间,使安装的位置更加精确,同时对安装滑块进行初步安装。


