授权公布号:CN218264716U
一种装饰板可调节结构
有效
申请
2022-07-11
申请公布
1970-01-01
授权
2023-01-10
预估到期
2032-07-11
| 申请号 | CN202221792174.2 |
| 申请日 | 2022-07-11 |
| 授权公布号 | CN218264716U |
| 授权公告日 | 2023-01-10 |
| 分类号 | E04F13/23;E04F13/25 |
| 分类 | 建筑物; |
| 申请人名称 | 苏州柯利达装饰股份有限公司 |
| 申请人地址 | 江苏省苏州市高新区邓尉路6号 |
专利法律状态
2023-01-10
授权
状态信息
授权
摘要
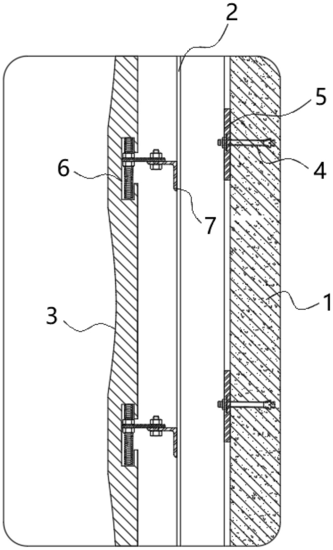
本实用新型公开一种装饰板可调节结构,包括:槽钢、支撑板、导轨、装饰板和连接板。槽钢固定设置在墙体上。支撑板固定设置在槽钢的一侧,且支撑板与墙体平行设置,支撑板上固定设置至少一个导轨。装饰板上开设多个安装槽,安装槽的横截面呈T型,安装槽内适于设置螺栓,连接板的调节端穿过螺栓设置在两个螺母之间,连接板的固定端可拆卸设置在导轨上。通过调节两个螺母在螺栓上的位置进一步调节连接板在螺母上的位置,通过调节连接板的位置来实现微调装饰板的位置,在装饰板打孔出现偏移的情况下,无需对装饰板重新进行打孔,便能够调节装饰板的位置,提高装饰板的安装效率。


