授权公布号:CN217586775U
一种涂料制备用的检测装置
有效
申请
2022-06-14
申请公布
1970-01-01
授权
2022-10-14
预估到期
2032-06-14
| 申请号 | CN202221483121.2 |
| 申请日 | 2022-06-14 |
| 授权公布号 | CN217586775U |
| 授权公告日 | 2022-10-14 |
| 分类号 | G01N3/56;G01N3/02 |
| 分类 | 测量;测试; |
| 申请人名称 | 深圳市兆新能源股份有限公司 |
| 申请人地址 | 广东省深圳市罗湖区笋岗街道笋西社区梨园路8号HALO广场一期五层 |
专利法律状态
2022-10-14
授权
状态信息
授权
摘要
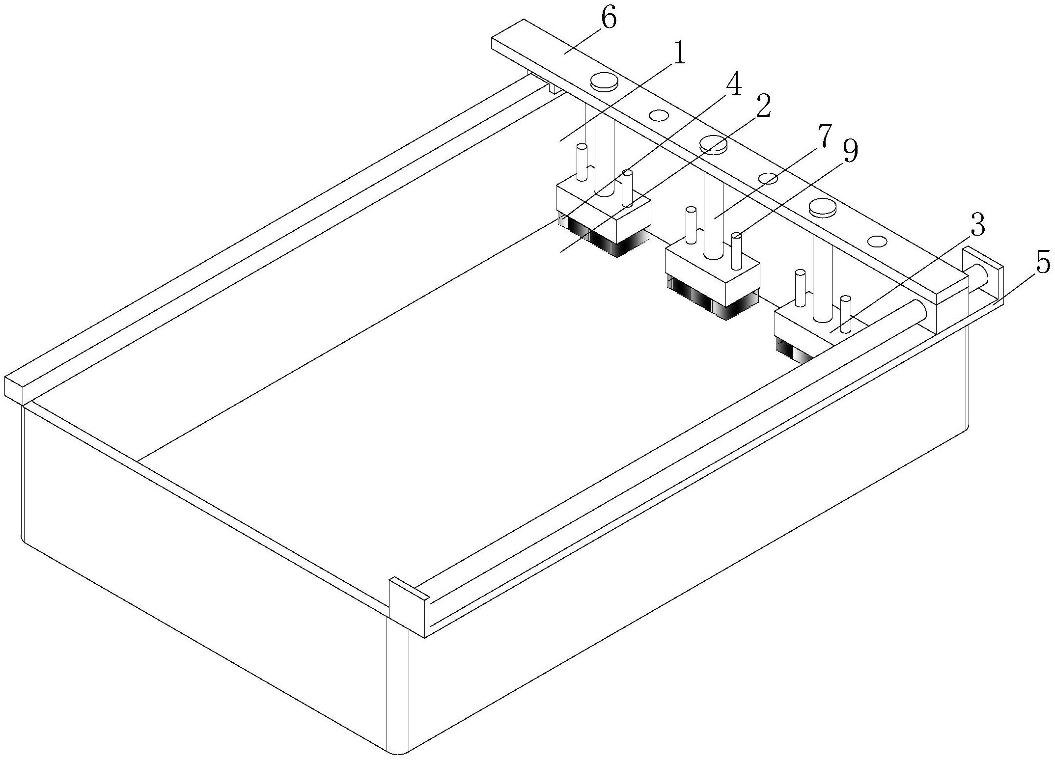
本实用新型涉及检测装置技术领域,且公开了一种涂料制备用的检测装置,包括敞口盒,所述敞口盒向上敞口;所述敞口盒的顶部沿长度方向安装有往复驱动机构;所述敞口盒的内部放置有涂覆板,所述涂覆板的上方设有多个连接块,所述连接块的底部设有刷动件;所述往复驱动机构上插放有连接件,所述连接件的一端滑动伸入连接块的内部。本实用新型提出一种涂料制备用的检测装置,本实用新型通过往复驱动机构带动刷动件对涂覆板上的涂料层进行刷动测试,多个同时检测降低实验检测的偶然性,同时利于更换和配重物体,增加实验的灵活性。


