授权公布号:CN217314973U
一种活动式清理铲
有效
申请
2022-05-11
申请公布
1970-01-01
授权
2022-08-30
预估到期
2032-05-11
| 申请号 | CN202221206429.2 |
| 申请日 | 2022-05-11 |
| 授权公布号 | CN217314973U |
| 授权公告日 | 2022-08-30 |
| 分类号 | B08B9/087;B08B7/02 |
| 分类 | 清洁; |
| 申请人名称 | 上海中南建筑材料有限公司 |
| 申请人地址 | 上海市徐汇区凯旋路3001号 |
专利法律状态
2022-08-30
授权
状态信息
授权
摘要
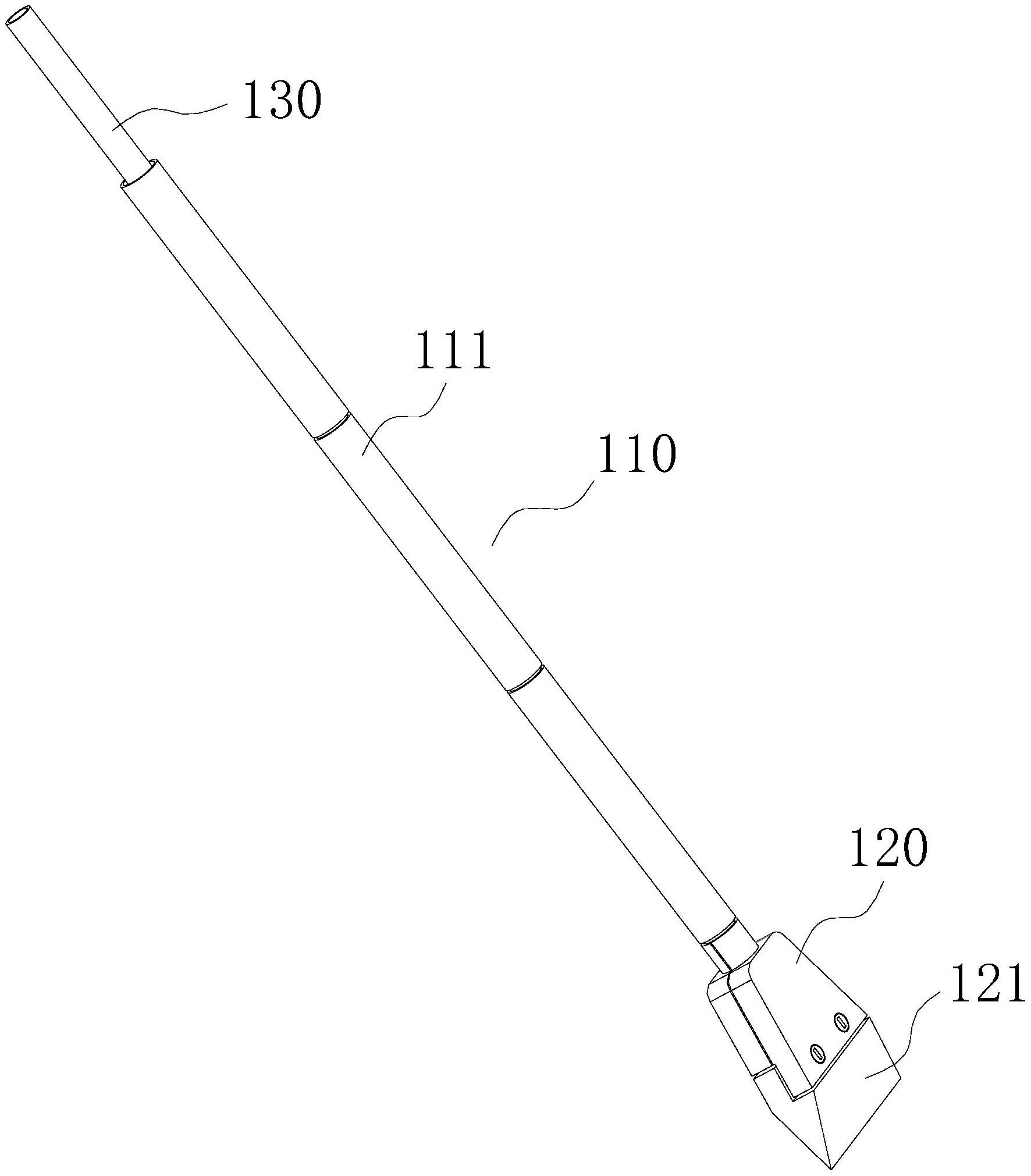
本实用新型涉及生产釜内壁清理技术领域,具体地说,涉及一种活动式清理铲,包括操作杆,所述操作杆的长度可调;铲体,连接于所述操作杆的一端处且用于对釜壁进行清理;工作人员可通过对操作杆的长度的调节,能够较佳地适应不同尺寸的生产釜的清理情况;能够较佳地对生产釜的釜壁的不同位置处进行清理,便于工作人员的使用,同时进一步提高了对釜壁的清理效果。


