授权公布号:CN214614704U
一种用于大型贯穿孔洞的防火封堵结构
有效
申请
2020-11-26
申请公布
1970-01-01
授权
2021-11-05
预估到期
2030-11-26
| 申请号 | CN202022777745.2 |
| 申请日 | 2020-11-26 |
| 授权公布号 | CN214614704U |
| 授权公告日 | 2021-11-05 |
| 分类号 | E04B1/94;E04B1/66;E04B1/92 |
| 分类 | 建筑物; |
| 申请人名称 | 四川天府防火材料有限公司 |
| 申请人地址 | 四川省成都市都江堰市紫坪铺镇都江村 |
专利法律状态
2021-11-05
授权
状态信息
授权
摘要
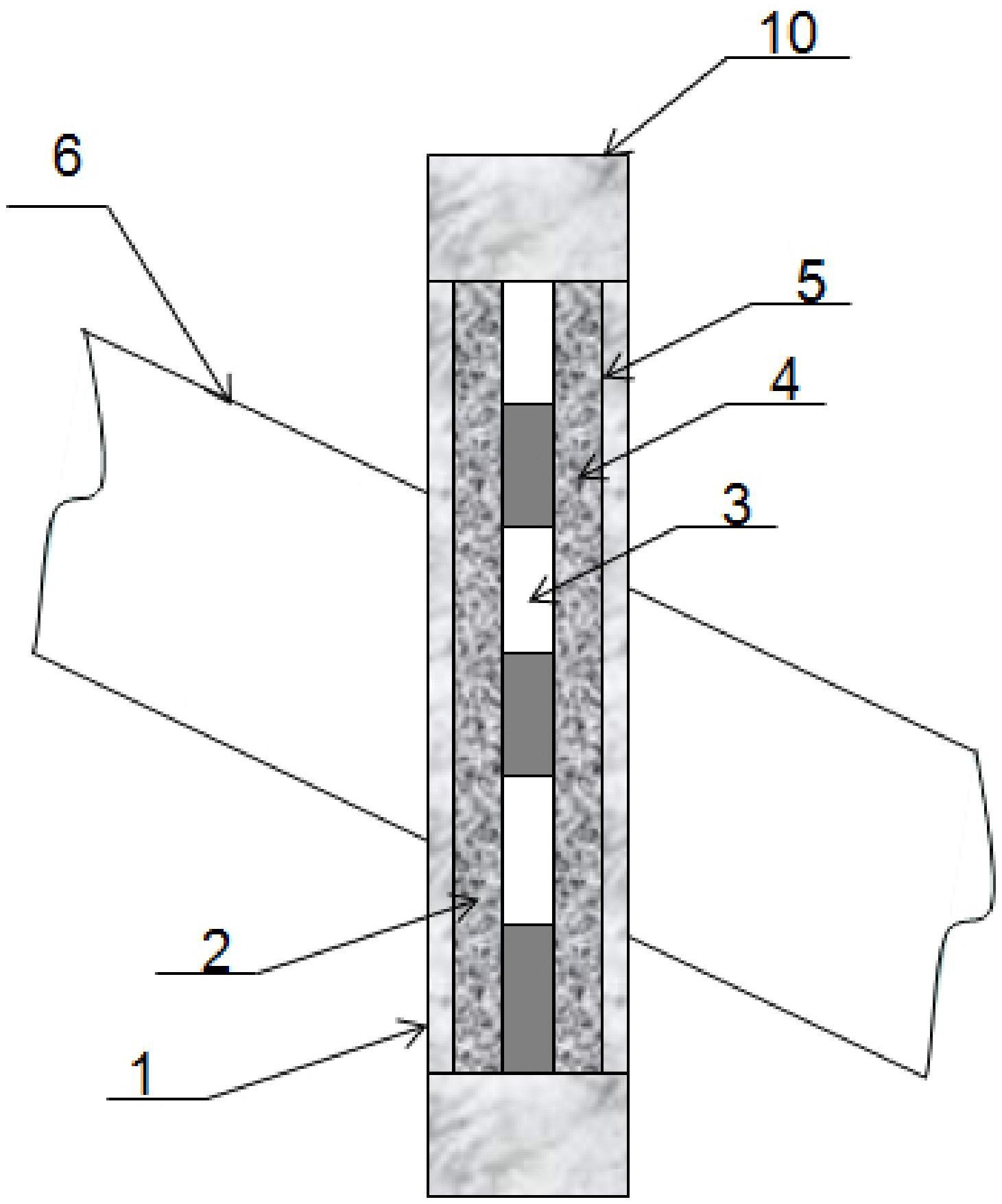
本实用新型公开一种用于大型贯穿孔洞的防火封堵结构,室内防水层、室内防护层、防火防烟层、室外防护层、室外防水层依次由内向外紧贴连接形成防火封堵结构,大型贯穿物贯穿墙体形成贯穿孔洞,防火封堵结构密实填充贯穿孔洞,防火封堵结构还包括防火封堵填充物A、防火封堵填充物B,防火封堵填充物A、防火封堵填充物B设置在大型贯穿物与室内防水层、室内防护层、防火防烟层、室外防护层、室外防水层之间的间隙处。本实用新型可解决因无机纤维棉高温下收缩或换流变压器正常工作状态下振动形成缝隙的防火封堵问题,同时,在受火后,能自动修复防火封堵系统的密实度,从而提高整个防火封堵系统的耐火性能、严密性、烟密性和稳定性。


