授权公布号:CN209568467U
一种城市综合管廊模块化装配式防火墙
有效
申请
2018-10-24
申请公布
1970-01-01
授权
2019-11-01
预估到期
2028-10-24
| 申请号 | CN201821727245.4 |
| 申请日 | 2018-10-24 |
| 授权公布号 | CN209568467U |
| 授权公告日 | 2019-11-01 |
| 分类号 | E02D29/045;A62C2/18 |
| 分类 | 水利工程;基础;疏浚; |
| 申请人名称 | 四川天府防火材料有限公司 |
| 申请人地址 | 四川省成都市都江堰市紫坪铺镇都江村 |
专利法律状态
2019-11-01
授权
状态信息
授权
摘要
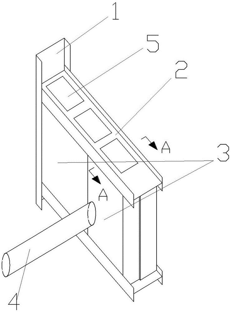
本实用新型公开一种城市综合管廊模块化装配式防火墙,包括防火墙立柱、滑槽,所述滑槽垂直固连防火墙立柱,沿防火墙立柱方向分布两个以上的滑槽,所述滑槽为工字型滑槽,两条相邻滑槽之间安装一块以上阻火模块,阻火模块与滑槽滑动连接,所述阻火模块之间贴合连接;所述阻火模块包括隔热板组、增强板,所述隔热板组包括两个以上隔热板,隔热板依次重叠固连,两个增强板分别固连隔热板组正面和背面。本实用新型在电缆扩容过程中不影响防火墙体系稳定性,封堵效果好,阻火墙耐冲击极限高,可实现多次重复装配且不影响再次装配的使用性能,保持了城市综合管廊墙体的完整性,电缆增、扩容安装方便。


