授权公布号:CN218716449U
百叶窗安装码
有效
申请
2022-11-04
申请公布
1970-01-01
授权
2023-03-24
预估到期
2032-11-04
| 申请号 | CN202222945709.1 |
| 申请日 | 2022-11-04 |
| 授权公布号 | CN218716449U |
| 授权公告日 | 2023-03-24 |
| 分类号 | E06B9/38 |
| 分类 | 一般门、窗、百叶窗或卷辊遮帘;梯子; |
| 申请人名称 | 溧阳新元窗帘制品有限公司 |
| 申请人地址 | 江苏省常州市溧阳市东升路271号 |
专利法律状态
2023-03-24
授权
状态信息
授权
摘要
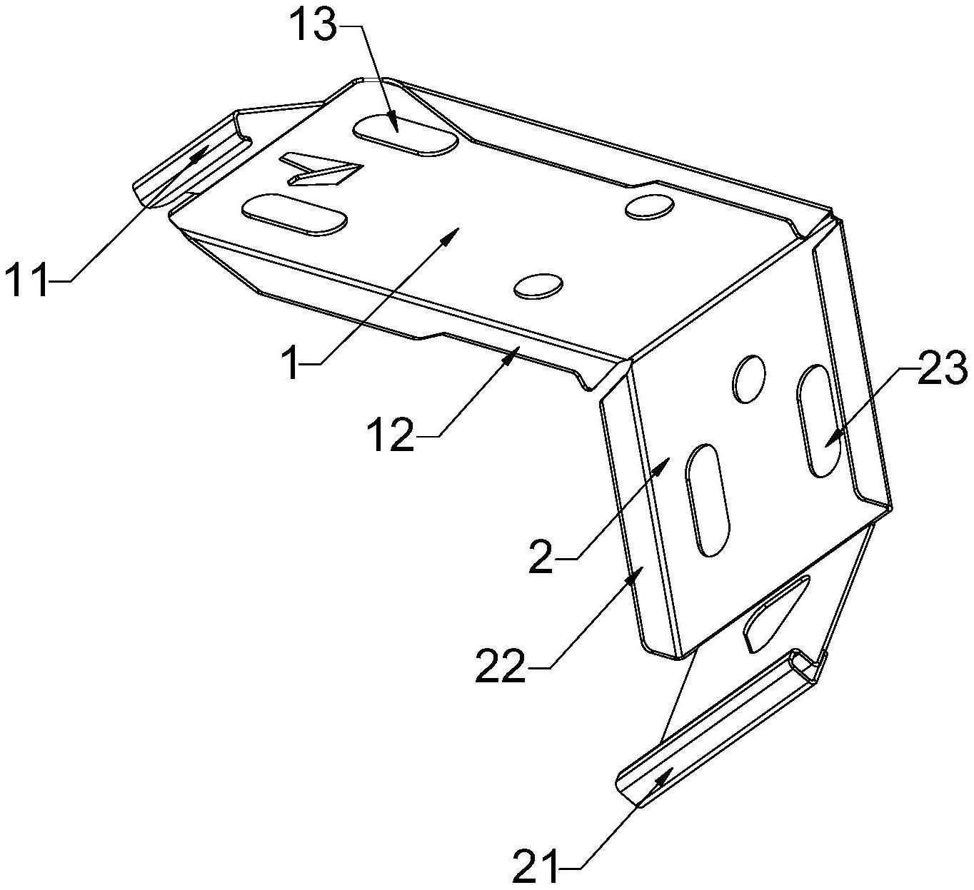
本实用新型公开了百叶窗安装码,所述安装码连接在顶轨上,所述安装码包括顶板和侧板,所述顶板向顶轨的外侧延伸有第一挂钩,其特征在于:所述侧板向下延伸有第二挂钩,所述第一挂钩和第二挂钩分别对顶轨的对角线方向上的转角进行扣合,所述顶轨的下表面成型有凸台,凸台分布在顶轨下表面的两端或一端,第二挂钩扣合在凸台下端,本实用新型通过在侧板的下端成型第二挂钩,对顶轨的底部进行支撑,从而使安装码的侧板也受到向下的力,这样安装码安装在墙体上时,会在顶板和侧板上同时受到向下的力,在力的合成原理下,力的受力点会靠近侧板,从而缩短了力臂,减小了力矩,进一步提高了侧板与墙体的连接强度。


