授权公布号:CN217200991U
基于酒曲成型机压臂动力的物料打散机构
有效
申请
2021-12-13
申请公布
1970-01-01
授权
2022-08-16
预估到期
2031-12-13
| 申请号 | CN202123117841.5 |
| 申请日 | 2021-12-13 |
| 授权公布号 | CN217200991U |
| 授权公告日 | 2022-08-16 |
| 分类号 | B65G69/14;B65G65/32;B65G47/74 |
| 分类 | 输送;包装;贮存;搬运薄的或细丝状材料; |
| 申请人名称 | 湖北稻花香酒业股份有限公司 |
| 申请人地址 | 湖北省宜昌市夷陵区龙泉镇 |
专利法律状态
2022-08-16
授权
状态信息
授权
摘要
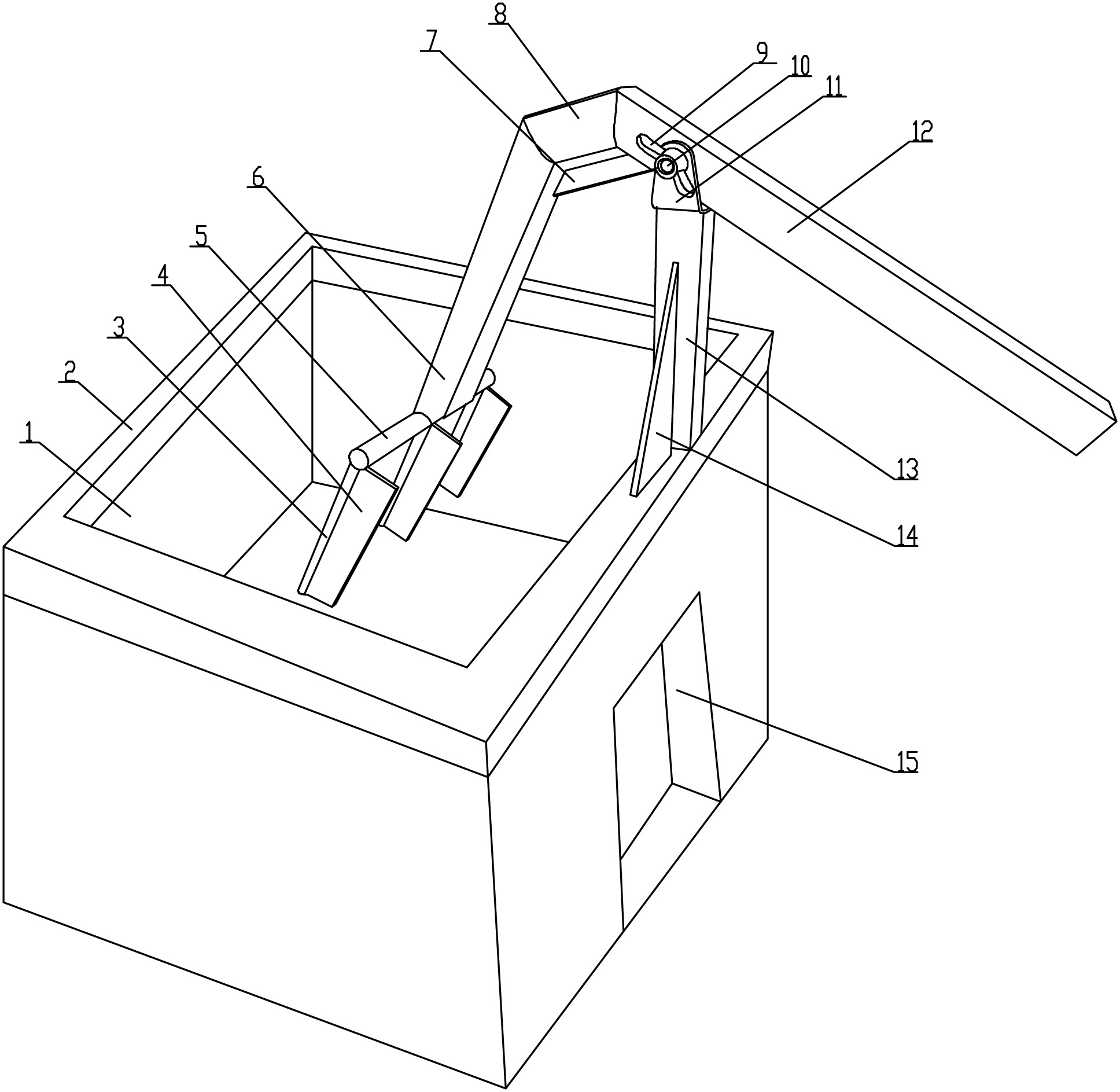
本实用新型提供了基于酒曲成型机压臂动力的物料打散机构,它包括接料箱体,接料箱体的顶部设置有顶部框架,顶部框架的顶部一侧固定有立柱,立柱的顶部通过U型耳座铰接有转动臂,转动臂的顶部末端通过连接杆与主臂相连,主臂的末端固定有横杆,横杆的底端固定有多组打散片结构。此物料打散机构设置在制曲机的进口部位,能够借助制曲机压臂的上下往复运动提供打散动力,将进入到料斗内部结块的原料打散,使其能够顺利的平铺进入到制曲机,最终保证制曲的质量。


